21. Mai

Der 21. Mai ist der 141. Tag des gregorianischen Kalenders (der 142. in Schaltjahren), somit bleiben 224 Tage bis Jahresende.

Historische Jahrestage
April · Mai · Juni
1 2 3 4 5 6 7
8 9 10 11 12 13 14
15 16 17 18 19 20
22 23 24 25 26 27 28
29 30 31

Ereignisse

Politik und Weltgeschehen

996: Otto III. wird von Gregor V. gekrönt
1363: Elisabeth von Pommern
1471: Heinrich VI.
1726: Die Ermordung Hahns
1809: Schlacht bei Aspern
1856: Ruinen des Free State Hotels nach dem Überfall
1871: Gefangene Kommunarden
  • 1871: Regierungstruppen dringen in die Pariser Innenstadt vor und brechen in der anschließenden „Blutwoche“ die Herrschaft der Pariser Kommune. In den Kämpfen und den folgenden Massenexekutionen werden etwa 30.000 Menschen getötet und etwa 40.000 inhaftiert.
1879: Tod des chile­nischen See­helden Arturo Prat bei Iquique
1939: Mutterkreuz in Gold
1998: Suharto verkün­det seinen Rück­tritt vom Präsidenten­amt
2006: Flagge von Montenegro

Wirtschaft

1797: Assignat

Wissenschaft und Technik

1871: Vitznau-Rigi-Bahn
1946: Rekonstruktion des Experiments

Kultur

1739: Jean-Philippe Rameau
  • 1739: Die Ballettoper Les Fêtes d'Hébé ou Les Talents lyriques von Jean-Philippe Rameau hat ihre Uraufführung an der Grand Opéra Paris.
  • 1804: Der außerhalb von Paris neu geschaffene Friedhof Père-Lachaise wird belegt. Ein im Alter von fünf Jahren gestorbenes Mädchen wird als erste Tote begraben.
1865: Peter Cornelius
1938: Bertolt Brecht
  • 1938: Furcht und Elend des Dritten Reiches, ein Theaterstück des deutschen Dramatikers Bertolt Brecht, das dieser im Exil in Dänemark geschrieben hat, wird in einigen Szenen in Paris uraufgeführt.
  • 1951: In einem abbruchreifen Geschäftsgebäude in der 9th Street in New York City beginnt die bis zum 10. Juni dauernde Kunstausstellung 9th Street Art Exhibition. Die Ausstellung zeigt die neue amerikanische Kunst des 20. Jahrhunderts, versammelt zahlreiche namhafte Künstler und markiert den Start der New Yorker Avantgarde der Nachkriegszeit, die in der Folgezeit als New York School bekannt wird.
1972: Michelangelos Pietà im Petersdom
2005: Kingda Ka

Gesellschaft

1924: Leopold & Loeb
  • 1924: In dem Versuch, das perfekte Verbrechen zu begehen, locken die beiden Studenten an der University of Chicago, Nathan Leopold Junior und Richard Loeb, den 14-jährigen Bobby Franks in ihr Auto und ermorden ihn. Um eine Entführung vorzutäuschen, schicken sie dann eine Lösegeldforderung an die Familie des Opfers.
  • 1936: In Tokio wird Abe Sada von Polizisten festgenommen. In ihrer Handtasche befinden sich die abgetrennten Genitalien ihres Geliebten, den sie drei Tage zuvor beim erotischen Spiel stranguliert hat. Der Fall erregt nationales Aufsehen.

Religion

Katastrophen

1917: Ausbrei­tung des Groß­brandes
  • 1917: In Atlanta entsteht ein Großbrand, der 1938 Gebäude vernichtet und etwa 10.000 Menschen obdachlos macht. Es ist jedoch nur ein Todesopfer zu beklagen.
  • 1996: Auf der Fahrt von Bukoba nach Mwanza auf dem Victoriasee in Ostafrika kentert die Linienfähre Bukoba und sinkt, wobei zwischen 500 und 1000 Menschen sterben.
  • 2003: Vor der Küste Algeriens kommt es zu einem Erdbeben der Stärke 6,8, durch das 2266 Menschen ums Leben kommen. Der anschließende Tsunami erreicht die balearischen Inseln, verursacht dort allerdings nur Sachschäden.

Kleinere Unglücksfälle sind in den Unterartikeln von Katastrophe und in der Liste von Katastrophen aufgeführt.

Sport

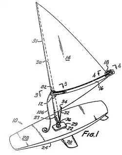
1967: Windsurfen

Einträge von Leichtathletik-Weltrekorden befinden sich unter der jeweiligen Disziplin unter Leichtathletik.

Geboren

Vor dem 18. Jahrhundert

Albrecht Dürer (* 1471)

18. Jahrhundert

Joseph Fouché (* 1759)

19. Jahrhundert

1801–1850

Ferdinand Lindheimer (* 1801)
Sophie Wilhelmine von Schleswig-Holstein-Gottorf (* 1801)

1851–1900

Léon Bourgeois (* 1851)
José Batlle y Ordóñez (* 1856)
Carl Weidemeyer (* 1882)
Lázaro Cárdenas del Río (* 1895)

20. Jahrhundert

1901–1925

Thomas Wright Waller (* 1904)
Raymond Burr (* 1917)

1926–1950

Lida Barrett (* 1927)
Malcolm Fraser (* 1930)
Heinz Holliger (* 1939)
Joachim Kirst (* 1947)

1951–1975

Mr. T (* 1952)
Nick Cassavetes (* 1959)
Christoph Georg Hartmann (* 1972)

1976–2000

Bodo Wartke (* 1977)
Belladonna (* 1981)
Mark Cavendish (* 1985)

21. Jahrhundert

Gestorben

Vor dem 17. Jahrhundert

Heinrich VI. († 1471)
Hernando de Soto († 1542)

17. und 18. Jahrhundert

Johann Salomon Brunnquell († 1735)

19. Jahrhundert

Joseph Woelfl († 1812)
Eugen von Mazenod († 1861)

20. Jahrhundert

1901–1950

Williamina Fleming († 1911)
Jane Addams († 1935)

1951–2000

Johannes Pinsk († 1957)
Ilse Abel († 1959)
Carlo Emilio Gadda († 1973)
Emmy Damerius-Koenen († 1987)
Rajiv Gandhi († 1991)

21. Jahrhundert

Katherine Dunham († 2006)
Demetri Betts († 2017)

Feier- und Gedenktage

Weitere Einträge enthält die Liste von Gedenk- und Aktionstagen.

Commons: 21. Mai – Sammlung von Bildern, Videos und Audiodateien