7,7-cm-Feldkanone 96
| 7,7-cm-Feldkanone 96 | |
|---|---|
|
| |
| Allgemeine Angaben | |
| Militärische Bezeichnung | 7,7-cm-Feldkanone 96 |
| Entwickler/Hersteller | Krupp, Essen |
| Produktionsstart | 1896 |
| Technische Daten | |
| Rohrlänge | 1,878 m |
| Kaliber | 7,7 cm |
| Kaliberlänge | 27,3 |
| Anzahl Züge | 32 |
| Drall | progressiv rechts |
| Kadenz | 1–9 Schuss/min |
| Höhenrichtbereich | -12 bis +16 Winkelgrad |
| Seitenrichtbereich | 4 |
| Ausstattung | |
| Verschlusstyp | Kolbenverschluss |
| Ladeprinzip | Hinterlader |
Die 7,7-cm-Feldkanone 96, auch 7,7 cm F.K. 96 oder 7,7-cm-FK 96 a.A. (alte Art), war ein Feldgeschütz, das von der Friedrich Krupp AG vor dem Ersten Weltkrieg entwickelt wurde.[1]
Beschreibung
-
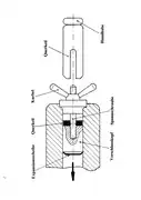
7,7-cm-Schrapnellpatrone im Querschnitt
Zunächst war das Geschütz eine ganz auf traditioneller Technologie beruhende Konstruktion. Als modernisierte Version der Krupp-Feldkanone C/73 nutzte sie nicht mehr Schwarzpulvermunition, sondern verschoss Patronenmunition mit rauchlosem Pulver als Treibladung und 12-Pfund-Projektile als Spreng- und Splittermunition. Erdsporne auf der Unterlafette der 7,7-cm-Feldkanone 96 sollten den Rückstoß des Geschützes nach dem Abschuss reduzieren. Das Geschütz hat einen Kolben- oder auch Wahrendorf- genannten Verschluss. Das Kaliber 7,7 cm verhinderte die Verwendung des Geschützes als Beutewaffe für gegnerische Armeen, deren Munition bei Kalibern von 7,5 cm (Frankreich) oder 7,62 cm (Russland und Großbritannien) nicht verschossen werden konnte, während umgekehrt gegnerische Feldgeschütze aufgebohrt und auf das Kaliber 7,7 cm erweitert werden konnten.[1][2]
-
Verschluss -
7,7-cm-Feldkanone 96 im Pferdezug -
7,7-cm-Feldkanone 96 in Feuerstellung
Bewertung
Die Kanone verfügte noch nicht über die damals bereits entwickelte Rohrrücklauftechnik. Das begrenzte ihre Kadenz durch das ständig erforderliche neue Einrichten der Waffe nach jedem Schuss auf etwa 1 Schuss/min, da auch die Erdsporne wenig hilfreich waren. Dieses wog um so schwerer, da man anstrebte, Geschütze mit rauchloser Munition aus verdeckten Stellungen einzusetzen. Aus diesen hatte man jedoch keine direkte Sicht auf das Ziel, was das Einrichten erschwerte. Auch der Kolben- oder auch Wahrendorf- genannte Verschluss war einem schnellen Nachladen eher hinderlich. In Hinterhangstellen zum Schutz der Geschütze vor feindlicher Sicht neigten sie dazu, sich auf Grund der kurzen Lafette und des ungebremsten Rückstoßes nach hinten zu überschlagen.[1][2][3]
Obwohl der zunächst bei Krupp tätige Ingenieur Konrad Haussner bereits 1891 ein Patent für langen Rohrrücklauf und pneumatischem Vorholer eingereicht und 1892 erhalten hatte, ließ die Artillerie-Prüfungs-Kommission des kaiserlichen Heeres diese Erfindung nicht in die 7,7-cm-Feldkanone 96 einfließen. Die Konstruktion war zu Versuchen im Jahr 1894 auch noch nicht ausgereift. So war die Lafette des Versuchsgeschützes auf Grund ihrer leichten Konstruktion nicht einsatztauglich. Die pneumatische Rohrbremse hatte lediglich atmosphärischen Druck, während vergleichbare französische Muster bereits mit vorgespanntem Überdruck arbeiteten. Das Geschütz bäumte sich während des Versuchsschießens auf, das Rohr ging nicht in die Ausgangslage zurück. Der spätere Generalleutnant Ernst August von Reichenau disqualifizierte die Versuchskanone nach dem Demonstrationsschießen mit den Worten: „Weg mit dem Scheusal.“[3]
Schon im Folgejahr wurde die Kanone obsolet: Frankreich führte seine Canon de 75 mm modèle 1897 mit Rohrrücklauf und -vorholer mit einer Kadenz von 15–20 Schuss/min ein. Der Vorsprung Frankreichs vor dem deutschen Kaiserreich wird dadurch mit 7–10 Jahren bewertet.[1][2][3]
Die meisten 7,7-cm-Feldkanonen 96 mussten daher 1904 als 7,7-cm-Feldkanone 96 n. A. (neuer Art) nach diesen modernen Standards umgebaut werden. August Bebel nahm diese Gelegenheit im Reichstag wahr, um auf die mangelnde Sachkunde und Verantwortung der Zuständigen bei der ursprünglichen Beschaffung des Geschützes hinzuweisen.[3] Es wurden ausschließlich die Rohre der alten Geschütze weiter verwendet. Die 7,7-cm-Feldkanone 96 n. A. wurde ab 1906 eingeführt und war während des Ersten Weltkriegs das wichtigste leichte Feldgeschütz im kaiserlichen Heer. Die wenigen verbliebenen unveränderten Geschütze wurden dann als 7,7-cm-FK 96 a.A. (alte Art oder altes Modell) bezeichnet. Eine Reihe von 7,7-cm-FK 96 a.A. wurde auch von der deutschen Schutztruppe für Deutsch-Südwestafrika während der Herero-Kriege 1904 sowie in Deutsch-Südwestafrika 1914–1915 eingesetzt.[2][3]
Später wurde deutlich, dass im Grabenkrieg auch die relativ geringe Reichweite der 7,7-cm-Feldkanone 96 n. A. ungenügend war und Krupp produzierte ab 1916 noch einmal eine Weiterentwicklung mit längerem Rohr und einer Reichweite von ca. 14.600 m und geringfügig höherem Geschossgewicht von 8 kg, die 7,7-cm-Feldkanone 16.[4]
Unterscheidungsmerkmale

7,7-cm-FK 96 a.A. und 7,7-cm-FK 96 n.A. lassen sich leicht unterscheiden:
7,7-cm-FK 96 a.A.
- Kein Schutzschild für die Bedienung
- Einfaches Rohr mit Kolbenverschluss
- Einfache kurze Fahrlafette mit klassischen Artillerierädern aus Holz
7,7-cm-FK 96 n.A.
- Schutzschild für die Bedienung
- Unterhalb des Rohres massive Konstruktion des Rohrrücklauf und -vorholer
- Schubkurbelverschluss
- Moderne lange Metallunterlafette
Museale Rezeption
Da die Mehrzahl der 7,7-cm-Feldkanone 96 a. A. umgerüstet wurden, sind weltweit nur wenige erhaltene Exemplare überliefert: Als sicher identifizierte Exemplare gelten Exponate in der Wehrtechnischen Studiensammlung Koblenz und im Polizeimuseum von Hongkong. Bei den Exemplaren im Bovington Tank Museum, im Stadtmuseum der Zitadelle Berlin-Spandau und im Festungsmuseum von Târgu Ocna (Rumänien) kann es sich um Modifikationen nah verwandter Geschütze handeln.
Weblinks
- Christian Brandau, Technikgeschichte - Die Genese des Geschützes mit langem Rohrrücklauf im Deutschen Kaiserreich Abgerufen am 20. Dezember 2021
- www.landships.info: Feldkanone C96 a.A. Abgerufen am 20. Dezember 2021
- The Great War surviving guns database, classified by nation and artillery type:
- 7,7-cm Feldkanone 96 in der WTS Koblenz (englisch)mAbgerufen am 22. Dezember 2021
- 7,7-cm Feldkanone 96 in der Zitadelle Spandau (englisch), abgerufen am 22. Dezember 2021
- Military Factory:
- 7.7cm Feldkanone 96 (FK96)Abgerufen am 22. Dezember 2021
- 7.7cm Feldkanone 16 (FK16)Abgerufen am 22. Dezember 2021
- www.festungen.info: Drei relevante Akteure der deutschen Rüstungsindustrie Abgerufen am 22. Dezember 2021
- Canon de campana Feldkanone 96 (7.7 cm FK 96) auf YouTube, abgerufen am 10. April 2024.
- Ruhr-Uni-Bochum.de, Technikgeschichte, Die Genese des Geschützes mit langem Rohrrücklauf im Deutschen Kaiserreich, abgerufen am 31. Januar 2025
Literatur
- Ian Hogg: Artillerie des zwanzigsten Jahrhunderts. Gondrom Verlag, Bindlach 2000, ISBN 3-8112-1878-6 (Originaltitel: Twentieth-century artillery. Übersetzt von Alexander Lüdeke).
- Linnenkohl, Hans, Vom Einzelschuss zur Feuerwalze: Der Wettlauf zwischen Technik und Taktik im Ersten Weltkrieg, Bernard & Graefe, 1990, ISBN 978-3-7637-5866-1
Einzelnachweise
- ↑ a b c d e Surviving Gunfile - 7.7cm Feldkanone 96. In: passioncompassion1418.com/. Abgerufen am 10. April 2024 (englisch).
- ↑ a b c d Christian Brandau, Technikgeschichte - Die Genese des Geschützes mit langem Rohrrücklauf im Deutschen Kaiserreich. In: ruhr-uni-bochum.de/. Abgerufen am 10. April 2024.
- ↑ a b c d e Linnenkohl, Hans: Vom Einzelschuss zur Feuerwalze. Der Wettlauf zwischen Technik und Taktik im Ersten Weltkrieg. Bernard & Graefe, Bonn 1990, ISBN 3-7637-5866-6, S. 61.
- ↑ 7.7cm Feldkanone 16 (FK16)-Fieldgun 1916. In: militaryfactory.com. Abgerufen am 10. April 2024 (englisch).
