Arnó-Umformer

Ein Arnó-Umformer (oder auch Phasenspaltermaschine[1]) ist ein Umformer, der aus Einphasenwechselstrom unsymmetrischen Dreiphasenwechselstrom (Drehstrom) erzeugt. Arnó-Umformer wurden historisch hauptsächlich als Hilfsbetriebeumrichter von Elektrolokomotiven benutzt. Dies ermöglichte den Einsatz von Drehstrommotoren als Hilfsbetriebeantriebe (z. B. Lüfter, Pumpen, Kompressor).
Das Prinzip des Arnó-Umformers wurde von Galileo Ferraris und Riccardo Arnó erfunden.[1]
Funktionsprinzip
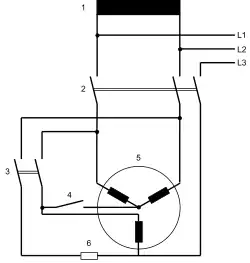
Arnó-Umformer sind ähnlich aufgebaut wie Drehstrom-Kurzschlussläufermotoren. Zwei Wicklungen werden in Reihe an das Einphasenwechselstromnetz angeschlossen. Im Betrieb wird an der dritten Wicklung eine zum Sternpunkt phasenverschobene Spannung induziert. Dadurch entsteht ein unsymmetrisches Dreiphasennetz.
Der Umformer muss durch Anwurf oder durch eine spezielle Schaltung in Drehung versetzt werden. Letztere besteht aus einem Anlassschütz, das über einen Anlasswiderstand die dritte Phase speist. Während des Anlassens ist das Betriebs- oder Sternpunktschütz geöffnet und schließt erst, nachdem das Anlassschütz geöffnet hat.[2][3]
Einzelnachweise
- ↑ a b Der Arnó-Umformer (Phasenspalter). (PDF) Interessengemeinschaft Historischer Elektromaschinenbau, abgerufen am 10. April 2022.
- ↑ VEB Lokomotivbau-Elektrotechnische Werke „Hans Beimler“ (Hrsg.): 50-Hz-Gleichrichterlokomotive Baureihe E 251. Hennigsdorf 1967 (drehscheibe-online.de).
- ↑ Bendel Helmut: Die elektrische Lokomotive: Aufbau, Funktion, neue Technik. 2., bearb. und erg. Auflage. Transpress, Berlin 1994, ISBN 3-344-70844-9, 13.2.5 Arno-Umformer, S. 169.