Aufstelltechnik
In der Aufstelltechnik dienen Höhenverstellelemente, Niveau-Ausgleichselemente und 3D-Verstellelemente zum Justieren und Nivellieren von Maschinen, Anlagen, Getrieben, Geräten und Apparaten.
Durch eine einfache Handhabung, hohe Belastbarkeit, präzise Einstellmöglichkeiten und einen möglichen Neigungsausgleich können sie in vielen Bereichen eingesetzt werden. Anwendung finden diese Elemente im Maschinenbau, der Automatisierungstechnik sowie in der Fördertechnik und im Motoren-, Getriebe- und Pumpenbau.
Für bestimmte Anwendungsfälle gibt es verschiedene Varianten der Aufstelltechnik und die Auswahl richtet sich primär nach dem benötigten Verstellweg. Der Vorteil der Höhenverstellelemente liegt vor allem in der geringen Bauhöhe.
Anforderungen
Elemente der Aufstelltechnik unterliegen diversen technischen Anforderungen. Sie müssen meist einer hohen statischen Belastung sowie starken Biege- und Knickbeanspruchungen standhalten. Durch die Verwendung von Feingewinden in diesen Bauteilen lassen sich zum einen höhere Druckbelastungen aufnehmen und zum anderen eine leichtere und damit sehr präzise Höheneinstellung gewährleisten.
Varianten

Höhenverstellelemente
Höhenverstellelemente sind überall dort anzutreffen, wo die Überbrückung einer Höhendifferenz einer Anlagenkomponente zu einer weiteren erforderlich ist.
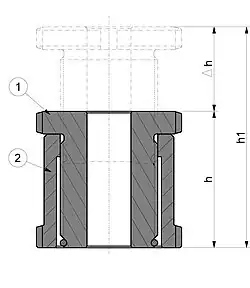
Bauform: Höhenverstellelemente bestehen aus einem Schrauben-Oberteil (1) und einem Muttern-Unterteil. Bei statischer Belastung wird die eingestellte Höhe durch Anziehen der Befestigungsschraube dauerhaft gesichert. Ist dies nicht ausreichend oder wird keine Befestigungsschraube eingesetzt, so kann ein Modell mit Kontermutter eingesetzt werden. Eine Ausdrehsicherung in Form eines Sprengringes dient als Höhenbegrenzung für die maximale Verstellhöhe (h1) und gewährleistet dadurch immer eine sichere Verbindung des Oberteils mit dem Unterteil.

Niveau-Ausgleichselemente
Das Niveau-Ausgleichselement findet dort Verwendung, wo es um die Aufstellung und das Ausrichten von Motoren, Aggregaten, Antriebselementen und Fertigungsstraßen geht. Mit dem Niveau-Ausgleichselement lässt sich eine Ausrichtung auch bei mehreren Lagerstellen einfach und exakt vornehmen. Dadurch ist eine verspannungsfreie Montage gewährleistet. Niveau-Ausgleichselemente mit einer zusätzlichen Kugel-Ausführung ermöglichen zudem eine exakte Montage bei nicht parallelen Auflageflächen bis zu einem Neigungswinkel von ca. 4°.
Bauform: Bei dem Kugel-Ausgleichselement ist das Ausgleichselement gelenkartig mit dem Oberteil verbunden und kann dadurch schräge Auflageflächen ausgleichen. Durch eine besondere konstruktive Maßnahme kann das Ausgleichselement nicht vom Oberteil gelöst werden und bildet dadurch mit dem Oberteil eine Einheit. Als Höhenbegrenzung für die maximale Verstellhöhe dient auch hier ein Sprengring.

3D-Verstellelemente
Das 3D-Verstellelement dient der vertikalen und Horizontalen Ausrichtung und Befestigung einer Anlagenkomponente (Motor o. Ä.) zu einer Weiteren (Verdichter, Pumpe o. Ä.). Bei 3D-Verstellelementen ist eine Nivellierung in allen drei Dimensionen/Ebenen möglich. Die Einstellung bietet mit 0,01 Millimetern Genauigkeit eine kraftschlüssige Verbindung zwischen Gestell und Maschine. Auch ein Ausgleich von Unebenheiten (z. B. unebener Hallenboden) von bis zu 5° ist möglich. Durch eine zusätzliche Kontermutter können die Einstellungen gesichert und fixiert werden und eignet sich daher vor allem für Anlagen mit dynamischer Beanspruchung.
Bauform: Das 3D-Verstellelement besteht im Wesentlichen aus drei Bauteilen:
- zur vertikalen Ausrichtung ein Ausgleichselement (GAE) inklusive Teller (Auflage für den Motorfuß)
- zur horizontalen Ausrichtung zwei Justierböcke inklusive Stellschrauben
- zur Arretierung der Anlagenkomponente ein Gewindebolzen
Material
Das Material der Höhenverstellelemente richtet sich nach den Anforderungen des Einsatzbereiches:
- Normalausführung: 42CrMo4 – Nr. 1.7225 Oberfläche galvanisch verzinkt, blau chromatisiert
- rostfreie Ausführung: X10 CrNiS 18.9 – Nr. 1.4305 – A1
- rost- und säurebeständige Ausführung: X5 CrNiMo 17.12.2 – Nr.1.4401 – A4
3D-Versteller werden ausschließlich in Stahl verzinkt hergestellt.
Anwendung
Höhenverstellelemente werden beispielsweise bei Sondermaschinen in der Entwicklung und Fertigung für Montage-, Handhabungs- und Prüfaufgaben eingesetzt. Die in den Montageautomaten integrierten Niveau-Ausgleichselemente stellen sicher, dass die Maschinenkomponenten in ihrer Höhe an den Übergabepunkten für nachfolgende Prozessschritte aufeinander abgeglichen werden, und helfen so, den Dauereinsatz im Mehrschichtbetrieb und die weitgehende Wartungsfreiheit zu garantieren.
Die Unterkonstruktionen von Windenergieanlagen müssen Kräfte von bis zu einer halben Tonne je Quadratzentimeter tragen und exakt im rechten Winkel stehen. Hierzu wird die Unterkonstruktion, mittels Höhenverstellelementen fein justiert und mit einem hochfesten Vergussmörtel unterfüllt, damit die Kräfte später im Betrieb gleichmäßig in das Fundament eingeleitet werden können.
Höhenverstellelemente werden zudem als tragende Elemente von Hochspannungs-Schaltanlagen zur Verwaltung von Stromnetzen eingebaut. Aufgrund der hohen Belastbarkeit und Langlebigkeit können so minimale Wartungsintervalle garantiert werden, und ein verlässlicher Betrieb ist auch unter extremsten Umweltbedingungen möglich.