Diaprojektor

Ein Diaprojektor ist ein optisch-mechanisches Gerät, mit dem gerahmte Dias mit Licht vergrößert als Bildprojektion (Bildwurf)[1] auf eine Bildwand projiziert werden, und damit ein spezieller Projektor. Er besteht im Wesentlichen aus dem Beleuchtungssystem mit der Lichtquelle, dem Abbildungssystem mit dem Objektiv und der Diahalterung mit dem Wechselsystem.

Beleuchtungssystem

Beleuchtungssystem eines Diaprojektors:
links: Hohlspiegel zur Erhöhung der Lichtmenge; Lampe;
rechts: Kondensor, 2 Linsen, dazwischen Wärmeschutzfilter; Dia (nicht gezeichnet; sein Halter liegt in der Regel kurz nach der rechten Kondensorlinse)
Diaprojektor 3×3 cm mit Ellipsoidspiegel-Lampe, ohne Kondensorlinsen

Das Beleuchtungssystem bestimmt die Art des Einsatzes eines Diaprojektors. Kriterien sind die Größe der Dias, der benötigte Lichtstrom und die Gleichmäßigkeit der Ausleuchtung. Auf der Abbildungsseite bestimmt das Objektiv mit seiner Brennweite die Größe des projizierten Bildes und den Projektionsabstand zur Bildwand. Der Strahlengang des Beleuchtungssystems und des abbildenden Objektives bilden einen verflochtenen Strahlengang.

Die Beleuchtung besteht aus der Lampe, dem Hohlspiegel dahinter und den Kondensorlinsen. Das Licht von der Lampe durchstrahlt das Dia und der Leuchtkörper der Lampe wird im Objektiv abgebildet. Das Objektiv projiziert das durchleuchtete Dia auf die Bildwand.[2]

Die meisten Diaprojektoren sind für die Dunkelraumprojektion (Projektionsart ohne Umgebungslicht im Vorführraum)[3] ausgelegt. Ist das Beleuchtungssystem so lichtstark, dass der Projektor ohne Verdunklung auskommt, spricht man auch von einem „Tageslichtprojektor“.

Für kleinere Dias kann statt der Kondensorlinse vor der Lampe eine Ellipsoidspiegel-Lampe verwendet werden. Auch hier liegt ein verflochtener Strahlengang vor und der Leuchtkörper der Lampe wird im Objektiv abgebildet.

Das Leuchtmittel, die Lampe hat sich von Kerzen, Petroleumlicht, Glühlampen, Halogenglühlampen bis zu Halogenmetalldampflampen erheblich geändert. Im Lauf dieser Entwicklungsreihe stieg der erreichbare Lichtstrom (gemessen in Lumen), die Leuchtdichte der Lichtquelle und ihre Farbtemperatur in Richtung Tageslicht. Die Steigerung der Lichtausbeute, im Fall elektrisch erzeugten Lichts die in Lumen pro Watt gemessene Effizienz der Erzeugung von Licht aus verbrauchter elektrischer Leistung verringerte die grundsätzlich unerwünschte Abstrahlung von Wärme (Infrarot) von der Lichtquelle, die das Dia durch Absorption aufheizt. Schon die verfahrensmässig zwangsläufige Absorption von sichtbarem Licht insbesondere an den dunklen Stellen des Dias und dem Rahmen führt zu einer Erwärmung des Dias, hier ankommende Wärmestrahlung (hoher Temperatur) wird ebenfalls absorbiert und heizt das Dia auf. Einfache Glühlampen emittieren nur etwa 5 % der elektrischen Leistung als sichtbares Licht, 95 % als Wärme. Ein Teil der Wärme wird über Wärmeleitung (über Fassung und Anschlussdrähte) abgeführt, ein weiterer Teil über Konvektion der Umgebungsluft oder geblasener Kühlluft, der überwiegende Teil strahlt nach dem Stefan-Boltzmann-Gesetz der Glühfaden durch den Lampenkolben nach außen.

Der Energiestrom per Wärmestrahlung ist auch bei Metalldampflampen noch höher als der per Anteil des sichtbaren Lichts. Dias bestehen aus Kunststoff (oder Glas) und in der Regel aus Gelatine (der Photoschicht) und sind daher nur begrenzt temperaturbeständig, wie auch die Rahmen aus Kunststoff oder Karton. In glaslosen Diarahmen wird das Filmmaterial nicht plangehalten und wölbt sich bei einseitiger Bestrahlung nach typisch wenigen Sekunden in Bildmitte in Richtung Objektiv, da im Wesentlichen die dem Objektiv zugewandte Seite mit der Photoschicht Licht- und Wärmestrahlung absorbiert und sich diese Seite sukzessive auf eine höhere Temperatur erhitzt.

Verschiedene Strategien dienen der Reduktion der Wärmestrahlung zum Dia:

  • Wärmeschutzfilter im Strahlengang (nach der Lampe, kurz vor dem Kondensor) absorbieren selektiv Wärmestrahlung (und möglichst wenig vom sichtbaren Licht). Ursprünglich wurde eine wassergefüllte Glasküvette[4] verwendet, später Glasfilter, typisch 5 bis 10 mm stark und mit leicht grünlicher Färbung. Wirksame Wärmeschutzfilter erhitzen sich entsprechend ihrer hohen Leistungsaufnahme stark und werden durch Luftkonvektion oder Gebläseluft gekühlt.
  • Infrarot durchlässige dichroitische Verspiegelung des Sammelspiegels hinter der Lampe, eventuell auch in den Lampenkolben selbst integriert, kann fast die Hälfte der relevanten Wärmestrahlung nach hinten entweichen lassen.
  • Umgekehrt wift in neuerer Zeit eine anders gestaltete dichroitische Verspiegelung der Kondensorlinsen selektiv Infrarotstrahlung aus dem Strahlengang der Projektion.
  • Die Innenseite des optischen Gehäuses um Lichtquelle und Strahlengang ist matt und schwarz beschichtet, um Streustrahlung (Licht und Infrarot) möglichst gut aufzunehmen. Diese Wandung ist zumeist aus Metall um die erzeugte Wärme an die Außenseite zu leiten und hat häufig lichtdichte Jalousieschlitze um Kühlluft durchdringen zu lassen. Sind Gehäuse aus Aluguss, wirken sie auch über die Oberfläche wärmeleitend und nützen die gesamte Fläche als Kühlfläche. Auch ein Luftraum unter dem Gehäuse dient der Verbesserung der Kühlung durch Luftzug.

Alle Elemente des Strahlengangs, inklusive des Dias, werden heute parallel durch ein möglichst leises Gebläse gekühlt. Starkes Anblasen des Objektivs ist nicht nötig, da es am kalten Ende sitzt und weil Staubablagerung hier besonders unerwünscht ist.

Ein geringer Ultraviolettanteil im Licht, das besonders stark auf Farbpigmente bleichend wirken würde, wird ohne weiteres durch die Glaselemente (Wärmeschutzfilter und Kondensorlinsen) absorbiert.

Gehäuse für Projektoren ohne Gebläse wurden zum Erzielen von günstigem Kamineffekt eher höher gebaut. Projektoren mit Licht aus Flammen haben typisch kleine Kamine. Ihr glockenförmigem Abschluss oben dient dazu, entzündlich wirkendes ungestörtes laminares Hochströmen der heißen Abgase zu vermeiden.

Projektionsobjektiv

Braun Super-Paxon 1:2,8/85 mm
Frontansicht
Gewinde zur Fokussierung

Das Projektionsobjektiv dient zur optisch-geometrischen Abbildung der Projektionsvorlage auf der Bildwand. Um Abbildungsfehler zu korrigieren, ist es üblicherweise aus drei bis fünf Linsen aufgebaut.

Die Objektive werden mit fester Brennweite oder mit verstellbarer Brennweite als Vario-Objektiv ausgeführt. Weitere Ausführungen sind Shift-Objektive und das CF-Objektiv (Curved Field), angepasst an die Krümmung eines nicht zwischen Glas gerahmten Dias, welches sich bei der Projektion erwärmt hat.

Bei einem Wechsel der Brennweite des Objektives kann zur Anpassung der verflochtenen Strahlengänge die Bildfeldlinse gewechselt oder in einer anderen Position im Lampenhaus eingesetzt werden.

Zum Scharfeinstellen muss das Objektiv in der optischen Achse verschiebbar sein, zum Beispiel durch eine koaxiale Gewindeführung.

Die Auflösung beschreibt die Eigenschaft von Objektiven, eng beieinander liegende Details noch zu trennen. Sie wird im Allgemeinen im Bild in Linienpaaren pro Millimeter, Testzeichen nach DIN 19051, oder durch die Modulationsübertragungsfunktion, auch Modulationstransferfunktion (MTF, engl. Modulation Transfer Function) oder Kontrastübertragungsfunktion gemessen.[5]

Projektionsabstand – Bildgröße

Die Beziehung zwischen Projektionsabstand A zu Bildgröße B auf der Bildwand ergibt sich durch das Verhältnis von Brennweite f des Objektives zu Diabreite b.[6]

Bemerkungen: Dabei ist angenommen, die Brennweite f ist viel kleiner als der Projektionsabstand. Die Nenngröße des Dias wird zum Beispiel für das Aufnahmeformat mit 24 mm × 36 mm angegeben, die Maske im Diarahmen hat aber eine Größe von 23 mm × 35 mm.[7]

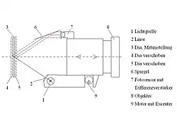
Autofocus Diaprojektor, Funktionsschema
Bildgrößen für ein Dia 24 mm × 36 mm
mit Objektiv f= 85 mm
Projektionsabstand in m 1,0 2,0 3,0 4,0
ungefähre Bildgröße in m 0,4 0,8 1,2 1,6
Bildgrößen für ein Dia 60 × 60, Maske 54 mm × 54 mm
mit Objektiv f= 150 mm
Projektionsabstand in m 1,0 2,0 3,0 4,0
ungefähre Bildgröße in m 0,36 0,72 1,23 1,64

Automatische Scharfstellung

Die Scharfeinstellung des projizierten Bildes auf der Bildwand erfolgt in der Regel durch Drehen am Objektiv. Dadurch wird der Abstand zwischen Objektiv und Dia geändert. Dieser eingestellte Abstand kann sich durch unterschiedliche Diarahmen verändern. Zusätzlich wird das Dia im Strahlengang während der Projektion erwärmt und wölbt sich, es „springt“. Die automatische Scharfeinstellung korrigiert diese Änderung durch Verschieben des Objektives und stellt den manuell eingestellten Abstand wieder her.

Diawechsel

Bei Projektoren mit manueller Diazuführung werden die gerahmten Dias einzeln mittels Wechselschieber oder über einen Fallschacht in den Projektions-Strahlengang gebracht.

Bei Projektoren mit Diazuführung aus einem Diamagazin ist ein manueller Diawechsel oder automatischer Diawechsel möglich. Die Auslösung des Vorlauf oder des Rücklauf (Bildwiederholung) kann durch unterschiedliche Tasten oder auch durch die Impulslänge gesteuert werden. Der automatische Diawechsel kann, entsprechend der Ausstattung des Projektors, durch Tastendruck am Projektor oder an der Fernbedienung, durch einen Zeitschalter oder, gesteuert von einem Tonbandgerät ausgelöst werden.

Magazine für Diaprojektoren

Magazine für Diaprojektoren, Langmagazin oder Rundmagazin, werden für Diarahmen der Nenngrößen (3×3) cm, (5×5) cm, (7×7) cm oder (8,5×8,5) cm eingesetzt. Die Diamagazine unterscheiden sich durch unterschiedliche Kapazität, also Anzahl der aufgenommenen Dias und der Fachbreite für den Diarahmen. Die Fachbreiten für die Aufnahme der Dias sind: bis 1,2 mm oder bis 3,2 mm.

Für eine Endlosvorführung eignen sich besonders Rundmagazine. Auch diese Magazine sind je nach Hersteller für unterschiedliche Kapazitäten ausgelegt. Bei Magazinen, die waagerecht wie ein Karussell über dem Projektor angeordnet sind, werden die Dias von oben in den Beleuchtungs-Strahlengang geführt, bei Magazinen, die wie ein aufrechtes Rad neben dem Beleuchtungssystem angeordnet sind, werden die Dias seitlich in den Strahlengang geschoben. Rundmagazine sind auch für Dias der Nenngrößen 3 × 3 cm und 5 × 5 cm vorgesehen.

Sonderausstattung und Zubehör

  • Timer, einstellbares Intervall für automatischen Diawechsel
  • Mit einer IR-Fernbedienung, die zumeist aus nicht zu großer Entfernung, grob in die Richtung des Projektors weisen muss, können die Funktionen des Projektors ferngesteuert werden.
  • Sparschalter, reduziert die Spannung an der Lampe um 5 %, der Lichtstrom reduziert sich um ca. 20 %, die Lebensdauer der Lampe steigt um ca. 100 %.[8]
  • AV-Steuerbuchse, über diese Buchse kann die Lampe, entsprechend der Programmierung eines Steuergerätes, für Überblendungen angesteuert werden.
  • Ein Lichtzeiger kann in der Fernbedienung eingebaut sein. Mit dem Lichtzeichen kann auf Details im projizierten Bild hingewiesen werden. Der V-förmige Glühfaden einer Spezialglühlampe in einer kleinen 3-Volt-Stablampe wird per Sammellinse im vierkantigen Vorsatz auf der Projektionswand scharf abgebildet.
  • Mit der Diavorbetrachtung kann ein einzelnes Dia vor der Projektion, etwa auf einem kleinen Bildschirm oder einer kleinen Mattscheibe oben am Gehäuse betrachtet werden.
  • Mit einem Bildbandansatz können 35 mm Filmstreifen mit Standbildern projiziert werden.
  • Ein Mikroansatz dient zur Projektion von transparenten Mikropräparaten.
  • Eine Tonbandsteuerung steuert über, auf einer Spur des Tonbandes aufgespielte Impulse, den Diawechsel des Projektors synchron zum abgespielten Ton.
  • Überblendprojektoren haben nebeneinander zwei Lampen, Strahlengänge und Objektive, die abwechselnd je ein Dia aufnehmen, mit sanfter Überblendung von einem zum nächsten Bild ohne die Adaptation des Auges strapazierende Dunkelphase
  • Eine Multivision ist eine Projektion mit zwei oder mehreren Projektoren, gesteuert von einer Multivisions-Steuerung, auf eine große Bildwand.
  • Eine Projektionseinheit besteht aus einem Projektor mit einer transparenten Bildwand, die fest mit dem Projektor verbunden ist oder einer ausklappbaren Bildwand.
  • Einknopfbedienung (bei Projektoren von Rollei) funktioniert mit kurzem Druck für ein Bild vorwärts und ausreichend langem Druck für rückwärts. Das Hinausschieben des zuvor gezeigten Dias wird prompt eingeleitet, der anschließende Magazintransport um einen Schritt läuft jedoch je nach Knopfstellung vor oder zurück.
  • Manuelle Fokussierwippe da unterschiedlich gerahmte oder gewölbte oder sich wölbende Dias ein Nachstellen der Schärfeebene nötig machen können, kann das Objektiv über einen kleinen Exzenter vor und zurück geschoben werden, wenn der Exzenter zu Beginn nicht an einem Totpunkt stand. Auch in Kombination mit Autofokus sinnvoll, wenn an einem gewölbten Dia unterschiedliche Bereiche scharf gestellt werden sollen, oder nur ein Teil der Dias in glasgerahmt sind, da der Autofokussensor nur die aus Sicht des Objektivs erste spiegelnde Oberfläche des Dias abtastet.

Geschichte

Die Geschichte der Diaprojektion geht auf die Anfänge der Laterna magica, beschrieben von Joh. Bapt. Porta 1589 zurück. Die ersten projizierten Vorlagen waren Schattenprojektionen oder gezeichnete Vorlagen. Bis über die Fotografie, zunächst mittels beschichteter Fotoplatten, und dann über den 35 mm Film die Kleinbilddias 1925 entstanden und der erste Kleinbild-Diaprojektor von Leitz 1926 auf den Markt kam.[9]

Literatur

  • DIN 19021-2, Bewertung von Stehbildwerfern mit Lichtwurflampen; Temperaturmessungen an Diaprojektoren; Ausgabedatum: 1985-08
  • DIN 19045-8, Projektion von Steh- und Laufbild; Lichtmessungen bei der Bildprojektion mit Projektor und getrennter Bildwand; Ausgabedatum: 1993-12
  • DIN 19045-9, Projektion von Steh- und Laufbild; Lichtmessungen bei der Bildprojektion mit Projektionseinheiten; Ausgabedatum: 1993-12
Commons: Diaprojektoren – Sammlung von Bildern, Videos und Audiodateien
Wiktionary: Diaprojektor – Bedeutungserklärungen, Wortherkunft, Synonyme, Übersetzungen

Einzelnachweise

  1. Hans F. Ebel, Claus Bliefert: Vortragen in Naturwissenschaft, Technik und Medizin. 1991; 2., bearbeitete Auflage 1994, VCH, Weinheim ISBN 3-527-30047-3, S. 295 (Bildprojektion).
  2. Helmut Naumann, Gottfried Schröder: Bauelemente der Optik. Carl Hanser Verlag, München 1992, ISBN 3-446-17036-7, S. 300.
  3. Hans F. Ebel, Claus Bliefert: Vortragen in Naturwissenschaft, Technik und Medizin. 1991; 2., bearbeitete Auflage 1994, VCH, Weinheim ISBN 3-527-30047-3, S. 296 f.
  4. http://www.pradoseum.eu/geschichte.html Geschichte der Projektorenfertigung bei Leitz/Leica, Pradoseum.at, Webmuseum über Leitz-Diaprojektoren, abgerufen am 3. Dezember 2015.
  5. Wolfgang Grau: Technik der optischen Projektion. Beuth Verlag, Berlin 1994, ISBN 3-410-13194-9, S. 148, 159, 420, 500.
  6. F. Paul Liesegang: Das Projektionswesen. In: Wissenschaftliche Anwendungen der Photographie erster Teil. Verlag von Julius Springer, Wien 1931, S. 243.
  7. Helmut Naumann, Gottfried Schröder: Bauelemente der Optik. Carl Hanser Verlag, München 1992, ISBN 3-446-17036-7, S. 301.
  8. Philips Lighting Online-Academy (Memento vom 16. Oktober 2013 im Internet Archive) (PDF; 1,4 MB) abgerufen am 3. Oktober 2013.
  9. Joh. Bapt. Porta: Magiae naturalis libri viginti Neapoli 1589. Buch 17, Kap. 1 und 4; in der 1664 zu Amsterdam erschienenen Ausgabe S. 574 und 584 In: F. Paul Liesegang: Zahlen und Quellen, Zur Geschichte der Projektionskunst und Kinematograghie. Deutsches Druck- und Verlagshaus, Berlin 1926, S. 7.