Entō Bunsui
Entō Bunsui (jap. 円筒分水, dt. etwa zylindrisches Wasserverteilbecken, regional auch: 円形分水, Enkei Bunsui, engl. Circular Tank Diversion oder Water Diversion Facility) ist ein Bestandteil des japanischen Bewässerungssystems, das in der Landwirtschaft gebräuchlich ist und das eine exakte und kontinuierliche Wasserverteilung ermöglicht.
Überblick
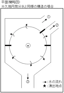
Die Bewässerungsanlage besteht aus zwei ineinander gestellten Zylindern unterschiedlicher Größe. Der innere Zylinder dient als Heber, der (Grund)wasser nach oben pumpt. Das nach oben beförderte Wasser fließt gleichmäßig über den Rand des inneren Zylinders und gelangt auf diese Weise in den äußeren Zylinder. Vom äußeren Zylinder aus wird das Wasser über Bewässerungskanäle auf die landwirtschaftlichen Nutzflächen transportiert, wobei die Wassermenge in einem feststehenden Verhältnis verteilt wird. Zur Einteilung der Wassermengen wird der äußere Zylinder durch Schieber in unterschiedlich große Kreissegmente aufgeteilt.
Lange Zeit sorgte die Verteilung der Wassermenge bei der Bewässerung im Nassreisanbau für Streitigkeiten. Von der Taishō-Zeit begann man in ganz Japan Wasserleitungen und Verteilsystem zu entwerfen und zu bauen. Als Methode für den Wassertransport nutzte man zunächst landschaftliche Höhenunterschiede aus. 1934 begann man zudem in den Präfekturen Fukushima und Nagano Wasser durch bauliche Anlagen aus dem Boden an die Oberfläche zu pumpen. Die ersten Wasserverteilsysteme in Nagano ähnelten den Entō Bunsui bereits, waren jedoch noch strahlenförmig angelegt, sodass sich die Wassermenge noch nicht effizient einteilen ließ. Erst durch die Verwendung zweier zylindrischer Röhren und die Ausnutzung des hydrostatischen Drucks zum Pumpen des Wassers gelang es 1942 in der Präfektur Nara die ersten Entō Bunsui zu bauen. Eines der ersten Wasserverteilbecken in Kuji ist heute als materielles Kulturgut registriert.[1]
Ausgewählte Wasserverteilbecken
- Wasserverteilbecken Shikazeki in Shiojiri, Präfektur Nagano, fertiggestellt 1934, Bestandteil des Shinano-Wassersystems
- Wasserverteiler Nr. 12 Oto nashi iro (音無井路十二号分水, etwa „geräuschloser Grundwasserbrunnen“) in Taketa, Präfektur Ōita, fertiggestellt 1934, Bestandteil des Ōno-Wassersystems
- Wasserverteilbecken Nishiten Ryūkansen suiro (西天竜幹線水路円筒分水群) in Ina, Minamiminowa und Minowa, Präfektur Nagano, fertiggestellt 1939, Bestandteil des Tenryū-Wassersystems
- Wasserverteilbecken Nika ryōyōsui Kuji (二ヶ領用水久地円筒分水) im Stadtteil Takatsu, in Kawasaki, Präfektur Kanagawa, fertig gestellt 1941, Bestandteil des Tama-Wassersystems
- Yokoi Seisui (横井清水) in Ina, Präfektur Nagano, eingerichtet am Ende des 19. Jahrhunderts, Bestandteil des Tenryū-Wassersystems
- Wasserverteilbecken Tsūjun yōsui Ozasa (通潤用水小笹円形分水) in Yamato, Landkreis Kamimashiki, Präfektur Kumamoto, fertiggestellt 1956, Bestandteil des Midori- und Sasahara-Wassersystems
- Asaka-Kanal (安積疏水, Asaka sosui) in Sukagawa, Präfektur Fukushima, Jahr der Fertigstellung unbekannt, Bestandteil des Abukuma-Wassersystems
Eines der größten Wasserverteilbecken steht am Ishibuchi-Damm (石淵ダム) in der Hisawa-Ebene. Der Durchmesser des inneren Zylinders beträgt 24 m, der des äußeren 31,5 m mit einer Wassermenge von 16 m³/s.[2]
Bilder
-
Oto nashi iro in Taketa, Präfektur Ōita -
Entō Bunsui im Stadtteil Kuji in Nara. Das Wasser wurde zu Restaurierungszwecken abgelassen. -
Yokoi Seisui Entō Bunsui -
Enkei Bunsui am Tsūjun Aquädukt -
Wasserverteilbecken am Asaka-Kanal
Weblinks
- Ozasuki Oza: 円筒分水ドット・コム. 2014, abgerufen am 24. Dezember 2014 (japanisch, Datenbank der landesweiten Wasserverteilbecken).
- Clark Parker: the tokyo files 東京ファイル. 8. Februar 2014, abgerufen am 24. Dezember 2014 (englisch).
- Ento-Bunsui Water Diversion Facility 円筒分水. The Southern Kanto Region Promotional Committee for Educational Tours, abgerufen am 24. Dezember 2014 (englisch).
- Google Maps mit bekannten Entō Bunsui
Einzelnachweise
- ↑ Amt für kulturelle Angelegenheiten: 二ヶ領用水久地円筒分水. 2014, ehemals im (nicht mehr online verfügbar); abgerufen am 24. Dezember 2014 (japanisch). (Seite nicht mehr abrufbar. Suche in Webarchiven)
- ↑ 胆沢平野土地改良区とは/挨拶・沿革・組織・事業. In: isawa-heiya.or.jp. Archiviert vom am 24. Dezember 2014; abgerufen am 7. Januar 2025 (japanisch).