Flettner Fl 185
| Flettner Fl 185 | |
|---|---|
| |
| Typ | Experimenteller Hubschrauber |
| Entwurfsland | |
| Hersteller | Flettner |
| Erstflug | Sommer 1937 |
| Produktionszeit | 1937 |
| Stückzahl | 1 |
Der Flettner Fl 185 war ein Versuchs-Hubschrauber von Anton Flettner.
Geschichte
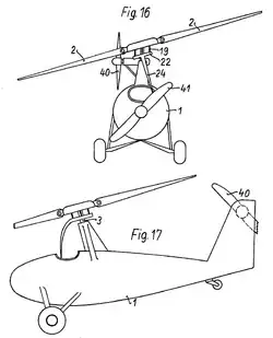
Der Hubschrauber wurde 1936 mit Unterstützung der Kriegsmarine als Nachfolger des Fl 184 entwickelt. Er besaß einen Siemens Sh-14C-Sternmotor im Bug, der über einen eigenen kleinen Propeller zwangsgekühlt wurde. Dieser beanspruchte etwa 10 % der Triebwerksleistung von 140 PS.[1] Der Motor trieb neben dem 12 Meter messenden Hauptrotor noch zwei kleinere Propeller in Zug- (rechts) bzw. Druckkonfiguration (links) an Auslegern neben dem Rumpf an. Diese besorgten durch unterschiedliche Propellerdrehrichtungen den (bei modernen Hubschraubern durch den Heckrotor oder zwei gegenläufige Hauptrotoren bewirkten) Drehmomentausgleich des Hauptrotors. Das Fahrwerk bestand aus einem Bugrad, zwei kleineren Stützrädern an den seitlichen Auslegern und einem Schleifsporn am Heck.
Der Auftrag für den Bau von zwei Prototypen wurde im Februar 1937 vom Reichsluftfahrtministerium erteilt, im April erfolgte die Besichtigung einer hölzernen Attrappe. Einige Zeit später wurde die Fl 185 V1 fertiggestellt und ab dem Sommer 1937 mit dem Kennzeichen D–EFLT getestet. Da Flettner für die Flugerprobung keinen Piloten finden konnte, übernahm der Chefkonstrukteur Emil Arnolt das Einfliegen. Im Vorwärtsflug wurden nur die beiden seitlichen vertikal ausgerichteten Propeller angetrieben, während der Hauptrotor im Autorotationszustand mitlief. Das Verteilergetriebe war im vorderen Teil des Cockpits eingebaut. Die Fl 185 absolvierte nur einige Flüge in Bodennähe. Während sich die Flugeigenschaften beim Schwebeflug und Geschwindigkeiten bis 65 km/h als gut erwiesen, neigte die auf der Backbordseite befindliche Druckluftschraube darüber hinaus zu starken Vibrationen. Flettner verwarf daher diese Auslegung und wandte sich bei seiner nächsten Hubschrauberentwicklung, dem Fl 265, der Konstruktion mit zwei ineinanderkämmenden Hauptrotoren zu. Es wurde nur ein Prototyp gefertigt, die zweite georderte Fl 185 wurde höchstwahrscheinlich nicht gebaut.
Kurioserweise wurde Ende der 1960er-Jahre von VFW mit dem H3 ein Hubschrauber gebaut, der ein praktisch identisches Antriebsprinzip besaß. Auch diese Maschine kam nicht über das Versuchsstadium hinaus.
Technische Daten

| Kenngröße | Daten |
|---|---|
| Besatzung | 1 |
| Rotorkreisdurchmesser | 12 m |
| Länge | 7 m |
| Leermasse | 775 kg |
| Startmasse | 900 kg |
| Antrieb | ein luftgekühlter Siebenzylinder-Sternmotor Sh 314C |
| Leistung | 140 PS (103 kW) |
Literatur
- Heinz J. Nowarra: Die deutsche Luftrüstung 1933–1945. Bernard & Graefe, Koblenz 1993, ISBN 3-7637-5464-4.
- Steve Coates: Deutsche Hubschrauber 1930–1945. Motorbuch Verlag, Stuttgart 2004, ISBN 3-613-02379-2.
Einzelnachweise
- ↑ eng/flettner-185.php Daten und Foto (Seite nicht mehr abrufbar, festgestellt im Februar 2025. Suche in Webarchiven) Info: Der Link wurde automatisch als defekt markiert. Bitte prüfe den Link gemäß Anleitung und entferne dann diesen Hinweis.
