Gegentakt-Oszillator
Ein Gegentakt-Oszillator ist eine elektronische Schaltung zur Schwingungserzeugung. Er verwendet mindestens zwei elektronische Schalter (meist Transistoren), die abwechselnd Strom leiten. Da die Schaltung sehr robust ist, wird sie vorwiegend bei tiefen Frequenzen als Wechselrichter in Kraftfahrzeugen eingesetzt. Vorgänger waren die fehleranfälligen mechanischen Zerhacker. Im Bereich der Hochfrequenz hat ein Gegentaktoszillator den Vorteil, dass die temperaturabhängigen Transistorkapazitäten so in Serie geschaltet und parallel zum Schwingkreis liegend weniger Einfluss auf die erzeugte Frequenz haben. Bevor man spezielle Verfahren zur Frequenzstabilisierung – wie etwa die PLL-Technik – anwendete, waren Gegentaktoszillatoren daher in der Funktechnik auch zur Erzeugung von VHF- und UHF-Signalen beliebt.

HF-Anwendung
Der Gegentaktoszillator erzeugt eine Sinusschwingung mit wenig geradzahligen Harmonischen. Wie beim Gegentaktverstärker addieren sich die beiden identischen quadratischen Kennlinien der FETs zu einer linearen Gesamtkennlinie.[1][2] Die Schaltung kann deutlich mehr Leistung liefern als andere Oszillatorschaltungen.
Funktionsweise
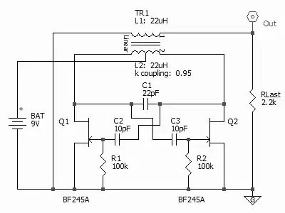
Der Schwingkreis besteht aus der Wicklung L2 des Transformators und dem Kondensator C1. Durch die Mitkopplung "über Kreuz" wie beim Multivibrator ist entweder FET Q1 oder FET Q2 leitend. Sinkt die Spannung am Drain von Q1, weil Q1 besser durchgesteuert wird, so sinkt auch die Gate-Spannung an Q2 und damit steigt die Drain-Spannung an Q2. Die Gate-Spannung von Q1 steigt ebenfalls und Q1 wird noch besser durchgesteuert. Der Übergang zwischen leitend und sperrend des einzelnen FET ist beim Gegentaktoszillator nicht sprunghaft wie beim Multivibrator, sondern hat die Form einer Sinushalbwelle. Die nebenstehende Schaltung schwingt bei ca. 7 MHz.
Literatur
- ↑ Jogis Röhrenbude, Grundsätzliches zum Verstärkerbau, Gegentaktbetrieb mit Röhren
- ↑ Heinrich Schröder, Elektrische Nachrichtentechnik II. Band, Verlag für Radio-Foto-Kinotechnik, Kap. B.III.9.a, S. 229.