Klauenkupplung

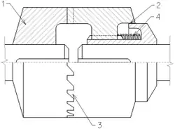
1: Fixe Kupplungsbacke als Gegenhalt zur dazu rechts liegenden, axial verschieblichen Kupplungsmuffe (Schnitt in derjenigen Radialebene, in die auch die axiale Mittellinie hineinfällt), 2: Spielpassung, 3: Umfangsprofil der Klauen im Eingriff, 4: Schraubenfeder

Eine Klauenkupplung ist eine Bauform eines Maschinenelements zur Übertragung von Drehbewegungen bzw. Drehmomenten. Sie stellt eine der einfachsten Bauformen einer Kupplung zur Verbindung der Enden von zwei Wellen dar und ist weit verbreitet.
Zur Dämpfung von Stößen und Schwingungen sowie zum Ausgleich eines Versatzes zwischen den beiden Wellen kann zwischen den Klauen ein Elastomer eingelegt werden, siehe Elastomerkupplung.
Die Hirth-Verzahnung ähnelt der Klauenkupplung. Die Kraftübertragung erfolgt jedoch über eine angeschrägte Verzahnung, statt über Zähne mit Flanken, die parallel zur Drehachse liegen ("Klauen"). Durch die schrägen Flächen lässt sich die Hirth-Verzahnung auch als Sicherheitskupplung einsetzen, die bei Überschreitung eines bestimmten Drehmoments (Losbrechmoment) durchrutscht.
Der Begriff ist auch bei der Anwendung von Schaltgetrieben bei der Eisenbahn bekannt geworden, siehe TAG-Getriebe. Eine der Klauenkupplung ähnliche Konstruktion wird häufig als Verbindungselement, beispielsweise bei Verschlüssen oder Steckverbindern (Feuerwehrschlauch) verwendet. Dieser Steck-Dreh-Mechanismus wird Bajonettverschluss genannt.
Funktionsprinzip
Die Klauenkupplung gehört zur Gruppe der formschlüssigen Kupplungen. Ihr Name leitet sich ab von der Greiffunktion einer Klaue im Tierreich.
Analog dazu greifen bei einer Klauenkupplung zwei oder mehr Fortsätze an einem der beiden Wellenenden hinter entsprechende Verdickungen am gegenüberliegenden Wellenende und ermöglichen eine Momentübertragung durch Drehen.
Klauenkupplungen können schaltbar ausgelegt werden. Dabei wird zumeist bei Stillstand der Maschine die „Klaue“ einfach vom gegenüberliegenden Wellenende abgezogen. Die Schaltung der betreffenden Gänge bei Fahrzeugen mit mechanischer Kraftübertragung wurde bei Schienenfahrzeugen durch die größeren zu übertragenden Lasten und Minderung des Zahnradverschleißes beim Schalten schon sehr zeitig praktiziert. Schon die Benzoltriebwagen der Spandau-West–Hennigsdorfer Kleinbahn besaßen zu ihrer Inbetriebnahme 1923 mechanische Getriebe mit Klauenschaltung und ständig im Eingriff stehende Übertragungsräder.[1] Da die Klauen die Drehzahlen von Motor und Abtriebswelle nicht stoßfrei synchronisieren können, benötigen solche Getriebe zusätzlich eine Einscheibentrockenkupplung. Die Steuerung der Klauen geschieht meist über Druckluft. Heute finden diese Art von Klauenkupplungen noch Verwendung bei Wendegetrieben, bei denen die Übertragungsräder ebenfalls ständig im Eingriff stehen und die lediglich im Stillstand geschaltet werden.
Eine weitere Möglichkeit der Klauenkupplung ist, die nicht kraftübertragende Rückseite abzuschrägen. Dadurch wird die Kupplung bei einer schnelleren Bewegung der angetriebenen Welle ausgespurt. Es ist eine Art Freilauf, wie er früher bei Andrehkurbeln von Motoren benutzt wurde.
Beide Seiten der Kupplung können auch symmetrisch gestaltet werden.
Anwendung
Die Kraft an der Verbindung von Schraubendreher und Schraube wird nach dem Prinzip der Klauenkupplung übertragen, wobei der Schraubenkopf einer Schlitzschraube als Klaue fungiert. In den meisten Fahrzeuggetrieben werden beim Schalten abwechselnd Zahnradpaare je nach Gangstellung über Klauenkupplungen mit den Wellen gelöst oder drehfest verbunden. Bekannte Anwendungsfälle waren das NAG-Triebwagengetriebe, das TAG-Getriebe oder das Mylius-Getriebe im Triebwagenbau. Da bei den Schalthandlungen der Lokführer von der Streckenbeobachtung abgelenkt war, wurde diese Art von Getrieben später durch Automatikgetriebe abgelöst.
Je nach spezieller konstruktiver Ausführung gleicht die Klauenkupplung Axialversatz aus und dämpft rotatorische Bewegungen, speziell stoßartiger Belastungen und Schwingungen.
Hochdynamische Zwischenachsen, kombiniert mit Klauenkupplungen, werden verstärkt im gesamten Maschinen- und Anlagenbau eingesetzt. Wichtige Einsatzgebiete sind beispielsweise Hubspindelgetriebe, Linearführungen, Palettier- oder Verpackungsanlagen.
Sobald die Klauenflanken eine von 90° verschiedene Abschrägung aufweisen, kann über eine definierte axiale Vorspannung im Zusammenwirken mit dem Reibungskoeffizienten der Kontaktflächen eine Rutschkupplung realisiert werden, die oberhalb eines bestimmten Drehmomentes die Kraftübertragung unterbricht.
Siehe auch
Literatur
- Wilhelm Tochtermann, Ferdinand Bodenstein: Konstruktionselemente des Maschinenbaues …, Teil 2: Elemente der drehenden und der geradlinigen Bewegung, Elemente zur Übertragung gleichförmiger Drehbewegungen. 9. verb. Auflage Springer, Berlin 1979, ISBN 3-540-09265-X, S. 100ff. und 112ff.
Einzelnachweise
- ↑ K. R. Repetzki Diesellokomotiven in Glasers Annalen 1895–1936, Transpress Reprint, Berlin 1987, ISBN 3-344-00127-2, Seite 47