Kreuzverbund

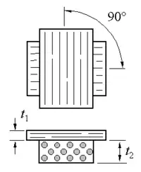
Der Kreuzverbund (kurz: KV) ist ein Verbund aus zwei unidirektionalen Schichten eines faserverstärkten Kunststoffs. Die unidirektionale Schicht kreuzt die jeweils andere unter einem Winkel von 90°. Der Kreuzverbund ist ein Sonderfall eines ausgeglichenen Winkelverbunds AWV45.
Alle Gewebe sind mechanisch betrachtet Kreuzverbunde. Dies trifft sowohl für die ausgeglichenen Gewebe, als auch für Gewebe mit unterschiedlicher Kett- und Schussfadenanzahl zu. Ein quasiisotropes Laminat wird aus Kreuzverbunden aufgebaut.
Einsatz

Da alle Gewebe Kreuzverbunde sind, ist er sehr weit verbreitet. Er ist ein optimales Laminat, wenn er in den Hauptspannungsachsen liegt. In diesem Fall müssen die Schichtdicken des Kreuzverbunds entsprechend der Netztheorie gewählt werden.
Ein Fall, in dem betragsmäßig gleiche Hauptnormalspannungen vorliegen, ist der Fall reiner Schubspannung. Ein um 45° gedrehtes Gewebe kommt so als AWV45 in den Hauptspannungsrichtungen zu liegen. Diese Konstruktion findet in Schubstegen von Holmen in Segelflugzeugen Anwendung. Auch in der Wickeltechnik werden Kreuzverbunde als Gewebebänder unter 45° abgelegt. Dadurch erhält man schubsteife Wickelbauteile.
Eigenschaften
Der Kreuzverbund ist in seinen Symmetrieachsen als Scheibe und Platte orthotrop. Er besitzt in diesen Achsen keine Scheiben-Platten-Kopplung (siehe klassische Laminattheorie). Bei gleichen Schichtdicken sind die Elastizitätsmoduln in x- und y-Richtung identisch.
Der Schubmodul eines Kreuzverbunds ist unter dem Winkel von 45° maximal.