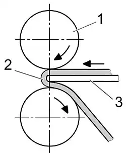
Krispeln

2 Leder
3 Krispelblech
Mit Krispeln bezeichnet man einen Vorgang bei der Lederbearbeitung, bei dem das nasse Leder mithilfe zweier Walzen über eine Blechkante gezogen wird. Dadurch wird zum einen das nach dem Färben steif gewordene Leder wieder weich gemacht und zum anderen seine natürliche Struktur (der Narben oder auch die Narbung) besonders hervorgehoben.