Linearbeschleuniger

Einer der längsten Linearbeschleuniger der Welt (3 km) am SLAC in Kalifornien
Ein LINAC am KEK in Japan. Die Ringe (gelb) mit speichenartig angebrachten Wicklungen (braun) sind Quadrupolmagnete zum Fokussieren des Teilchenstrahls.

Ein Linearbeschleuniger oder LINAC (von englisch linear accelerator) ist ein Teilchenbeschleuniger, der geladene Teilchen wie Elektronen, Positronen oder Ionen in gerader Linie beschleunigt.

Fast immer ist mit dieser Bezeichnung eine Anlage gemeint, in der die Beschleunigung durch eine Wechselspannung hoher Frequenz erreicht wird. Die genauere, aber nur selten verwendete Bezeichnung ist daher Hochfrequenz-Linearbeschleuniger (englisch radio frequency linac). Gleichspannungsbeschleuniger haben ebenfalls gerade Teilchenbahnen, werden aber üblicherweise nicht als Linearbeschleuniger bezeichnet.[1] Hier haben sich die Bezeichnungen der einzelnen Typen wie Van-de-Graaff-Beschleuniger, Cockcroft-Walton-Beschleuniger, Dynamitron usw. etabliert.

Im Vergleich zu den verschiedenen Ringbeschleuniger-Arten ist ein Linearbeschleuniger technisch einfacher und vermeidet durch die gerade Teilchenbahn Energieverluste der Teilchen durch Synchrotronstrahlung. Andererseits benötigt er wesentlich mehr Beschleunigungselemente, weil die Teilchen hier jedes Element nur einmal und nicht wiederholt durchlaufen. Für hohe Teilchenenergien sind dadurch Baulängen von vielen Kilometern erforderlich.

Linearbeschleuniger dienen oft Experimenten der Teilchenphysik, entweder direkt oder als Vorbeschleuniger für Forschungs-Synchrotrone. Auch die Elektronensynchrotron-Anlagen zur Erzeugung von Synchrotronstrahlung enthalten meist einen Linearbeschleuniger als Vorstufe. Elektronen-Linearbeschleuniger geringerer Energie werden vor allem zur Erzeugung von Röntgenstrahlung eingesetzt, etwa zur medizinischen Strahlentherapie, Durchstrahlungsprüfung oder Strahlensterilisation.

Erste Entwicklungen: der Wideröe-Beschleuniger

Wideröe-Beschleuniger: Die positiven Teilchen (rot) werden im Spalt zwischen den Driftröhren jeweils vorwärts beschleunigt. (Der rote Pfeil stellt die Richtung des elektrischen Feldes dar.)

In den ersten Beschleunigern wurden die Teilchen durch Gleichspannungen beschleunigt, wie in einer Elektronenkanone. Die Teilchenenergie entspricht direkt der Betriebsspannung, die technisch begrenzt ist durch Probleme wie Kriechströme, Koronaentladungen oder Lichtbögen. Um dies zu umgehen, wurde 1924 von Gustav Ising ein Wechselspannungs-Linearbeschleuniger vorgeschlagen.[2] Ein solcher Beschleuniger wurde erstmals von Rolf Wideröe 1928 an der RWTH Aachen gebaut.[3] Die Grundidee besteht darin, dass das Teilchen viele Male der gleichen Beschleunigungsspannung ausgesetzt wird. Trotz einer relativ geringen Spannung erreicht das Teilchen auf diese Weise eine hohe kinetische Energie.

Der Wideröe-Beschleuniger besteht aus vielen rohrförmigen Elektroden, den Driftröhren, die entlang einer geraden Achse angeordnet sind. Diese werden abwechselnd auf ein positives und negatives elektrisches Potential gebracht. Da die Driftröhre selbst wie ein Faradayscher Käfig wirkt, besteht in ihrem Inneren kein elektrisches Feld. Das Teilchen fliegt dort mit konstanter Geschwindigkeit, unbeeinflusst von einer angelegten Spannung. Anders ist das im Spalt zwischen zwei benachbarten Driftröhren; dort wird das Teilchen vom elektrischen Feld beeinflusst. Damit das Teilchen im Spalt immer die zur Vorwärtsbeschleunigung geeignete Feldrichtung vorfindet, muss die Polung der Driftröhren wechseln. Ein solches elektrisches Wechselfeld wird durch eine Wechselspannungsquelle passender Frequenz, einen HF-Generator, erzeugt. In Wideröes ursprünglichem Versuchsaufbau betrug die Frequenz 1 Megahertz. Ist die Länge der Röhre so gewählt, dass die Flugzeit des Teilchens bis zum folgenden Spalt gleich der halben Periodendauer der Wechselspannung ist, findet es auch dort die beschleunigende Feldrichtung vor. Da die Teilchengeschwindigkeit durch jeden Beschleunigungsschritt zunimmt, die Zeit für die Umpolung aber gleich bleibt, muss die Länge der einzelnen Driftröhren entsprechend anwachsen, wie in der Abbildung angedeutet.

Ein 1,2 m langer Wideröe-Beschleuniger mit 30 Driftröhren wurde 1931 in Berkeley von Lawrence gebaut. Er wurde mit einer Spannung von 42 Kilovolt bei 7 Megahertz betrieben und beschleunigte Quecksilberionen auf 1,26 MeV.[4]

Wideröe-Beschleuniger eignen sich für Teilchengeschwindigkeiten bis zu etwa 5 % der Lichtgeschwindigkeit.[5] Dies entspricht beispielsweise bei Protonen einer Energie von 1,2 MeV, bei Elektronen mit ihrer kleinen Masse nur 640 eV. Für Elektronen hat der Wideröe-Beschleuniger dementsprechend keine Bedeutung erlangt. Schon bei dieser Geschwindigkeit muss die Driftröhre bei den praktisch verwendbaren Frequenzen mehrere Meter lang sein, und die begrenzte Ausbreitungsgeschwindigkeit des Stroms macht sich bemerkbar.

Moderne Linearbeschleuniger-Konzepte

Je höher die Frequenz der Beschleunigungsspannung gewählt wird, umso mehr einzelne Beschleunigungsschübe pro Weglänge erfährt ein Teilchen von gegebener Geschwindigkeit, und umso kürzer kann daher der Beschleuniger insgesamt sein. Deshalb entwickelte sich die Beschleunigertechnik beim Streben nach höheren Teilchenenergien vor allem hin zu höheren Frequenzen.

Die seit etwa 1950 verwendeten Linearbeschleuniger-Konzepte (fachsprachlich oft Beschleunigerstrukturen genannt) arbeiten mit Frequenzen im Bereich von etwa 100 Megahertz (MHz) bis zu einigen Gigahertz (GHz) und nutzen den elektrischen Feldanteil von elektromagnetischen Wellen.

Stehende Wellen und Wanderwellen

Wenn es um Energien von mehr als einigen MeV geht, unterscheiden sich Beschleuniger für Ionen von denen für Elektronen. Grund dafür ist der große Massenunterschied der Teilchen. Elektronen sind schon bei wenigen MeV nahe an der Lichtgeschwindigkeit, der absoluten Geschwindigkeitsgrenze; bei weiterer Beschleunigung erhöhen sich, wie von der relativistischen Mechanik beschrieben, fast nur noch ihre Energie und ihr Impuls. Dagegen nimmt bei Ionen dieses Energiebereichs durch weitere Beschleunigung auch die Geschwindigkeit noch stark zu.

Die heute für Ionen gebrauchten Beschleunigungskonzepte beruhen immer auf elektromagnetischen stehenden Wellen, die sich in geeigneten Resonatoren bilden. Je nach Teilchenart, Energiebereich und anderen Parametern werden sehr verschiedene Typen von Resonatoren eingesetzt; die folgenden Abschnitte behandeln nur einige davon. Elektronen können oberhalb einiger MeV ebenfalls mit stehenden Wellen beschleunigt werden. Eine vorteilhafte Alternative ist hier aber eine fortschreitende Welle, eine Wanderwelle. Die Phasengeschwindigkeit der Wanderwelle muss etwa gleich der Teilchengeschwindigkeit sein. Deshalb eignet sich diese Technik nur, wenn die Teilchen schon fast Lichtgeschwindigkeit haben, so dass ihre Geschwindigkeit nur noch sehr wenig zunimmt.

Wesentlich für diese beiden Beschleunigungstechniken war die Entwicklung der Hochfrequenz-Oszillatoren und -Leistungsverstärker ab den 1940er Jahren, insbesondere des Klystrons. Der erste größere Linearbeschleuniger mit stehenden Wellen – für Protonen – wurde 1945/46 im Berkeley Radiation Laboratory unter der Leitung von Luis W. Alvarez gebaut. Die verwendete Frequenz war 200 MHz.[6] Der erste Elektronenbeschleuniger mit Wanderwellen von etwa 2 GHz (Gigahertz) wurde wenig später an der Stanford University von W. W. Hansen und Mitarbeitern entwickelt.[7]

In den beiden Diagrammen geben Kurve und Pfeile die auf die Teilchen wirkende Kraft an. Nur an den Stellen mit der richtigen Richtung des elektrischen Feldvektors, also der richtigen Kraftrichtung, können Teilchen aus der Welle Energie aufnehmen. (Eine Geschwindigkeitszunahme ist im Maßstab dieser Bilder nicht erkennbar.)

Fokussierung

Bei vielen Linearbeschleunigerstrukturen muss der Teilchenstrahl entlang seines Weges durch besondere Maßnahmen fokussiert (zusammengehalten) werden. Dazu werden teils Quadrupolmagnete und Sextupolmagnete verwendet, teils Solenoide, durch die der Strahl entlang ihrer Achse fliegt.[8] Die Fokussierungselemente sind abwechselnd mit den beschleunigenden Elementen angeordnet.

Hochfrequenzquadrupol-Beschleuniger

Elektroden eines RFQ-Resonators. Der Querschnitt jeder Elektrode ist hyperbelförmig. Zwei Elektroden sind aufgeschnitten dargestellt, um die Kontur zu zeigen. Der Abstand zwischen Achse und Elektrode variiert sinusförmig. Dort, wo der Achsenabstand der horizontalen Elektroden den minimalen Wert a hat, ist er für die vertikalen Elektroden maximal (b) und umgekehrt.

Der Hochfrequenzquadrupol-Resonator, meist als RFQ-(radio frequency quadrupole)-Beschleuniger bezeichnet, eignet sich für den gleichen Geschwindigkeitsbereich wie der Wideröe-Beschleuniger, hat aber eine viel kompaktere Bauform. Er wurde 1969 von den russischen Forschern Kapchinskiy und Teplyakov vorgeschlagen.[9][10] Er verwendet im Inneren eines Hohlraumresonators einen elektrischen Quadrupol. Die vier Elektroden liegen symmetrisch um den Teilchenstrahl, verlaufen parallel zu ihm und sind so geformt, dass ihr Abstand von der Strahlachse wellenförmig variiert. Dadurch erhält das elektrische Wechselfeld der stehenden Welle eine Längskomponente, die abwechselnd in die Strahlrichtung und gegen diese zeigt. Ein eingespeister kontinuierlicher Teilchenstrahl wird dadurch in Teilchenpakete zerlegt und diese werden beschleunigt. Die Querkomponenten des Feldes wirken fokussierend auf den Strahl. Anders als eine magnetische Fokussierung ist diese elektrische Fokussierung auch für sehr langsame Ionen wirksam, weil ihre Kraft nicht von der Teilchengeschwindigkeit abhängt.

RFQ-Resonatoren werden mit Frequenzen bis zu 500 MHz betrieben. Sie werden oft als Vorstufen für Hochenergie-Ionenbeschleuniger genutzt, aber auch im MeV-Energiebereich anstelle von Gleichspannungsbeschleunigern.[11][12]

Zylindersymmetrische Hohlraumresonatoren

Funktionsweise

Zur Beschleunigung von Ionen in den MeV-Bereich und darüber hinaus können mehr oder weniger modifizierte Abarten des Pillbox-Resonators dienen. Diese zylindersymmetrischen Hohlraumresonatoren werden fachsprachlich oft englisch cavity (dt. Hohlraum) oder Kavität genannt. Ihre Resonanzfrequenzen liegen meist bei einigen hundert Megahertz. Die Teilchen bewegen sich entlang der Zylinderachse. Von den verschiedenen Schwingungsformen (Moden), die in einem solchen Resonator möglich sind, wird die TM010-Mode genutzt.[13] Bei ihr verlaufen die Magnetfeldlinien rings um den Strahl und die elektrischen Feldlinien längs der Strahlrichtung.

Die Beschleunigungsstrecken in Synchrotrons – auch für Elektronen – sind ebenfalls meist Hohlraumresonatoren, unter Umständen in supraleitender Ausführung.

Einzelresonatoren

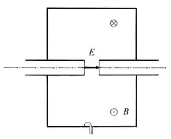
Einzelresonator. Die Richtungen der elektrischen (E) und magnetischen (B) Felder der verwendeten TM010-Welle sind angedeutet. Unten die induktive Hochfrequenzeinspeisung mittels Koppelschleife

Beim Einzelresonator sind in die Abschlusswände des Resonators Driftröhren eingesetzt, so dass das beschleunigende Feld auf den Spalt zwischen deren Enden konzentriert wird. Die Resonanzfrequenz hängt näherungsweise nur vom Durchmesser ab und ist zu ihm umgekehrt proportional; ein Resonator für 500 MHz hat z. B. 46 cm Innendurchmesser. Ein Linearbeschleuniger kann aus einer Anzahl Einzelresonatoren aufgebaut sein. Außer dem abgebildeten einfachsten Typ gibt es auch mehrzellige Resonatoren.[13] Im Allgemeinen wird jeder Resonator aus einem eigenen Hochfrequenzoszillator und -verstärker versorgt; je nach Bauweise des Beschleunigers und Teilchenart muss für die richtige Phasenlage der Oszillatoren untereinander gesorgt werden.

Alvarez-Beschleuniger

Der Alvarez-Beschleuniger, benannt nach Luis Alvarez, besteht aus einem langen zylindrischen Rohr als Resonator.[14] Im Inneren sind entlang der Achse Driftröhren angebracht; insofern erinnert es an die Wideröe-Konstruktion. Die Driftröhren sind durch dünne Drähte oder Stiele an der Rohrwand befestigt. Diese Beschleunigungsstruktur kann als eine Kette aneinandergereihter Einzelresonatoren verstanden werden. Auch hier wird die TM010-Welle ausgenutzt. Die Resonanzfrequenz liegt meist bei 100 bis 200 MHz. In die Driftröhren können zur Fokussierung kleine Quadrupolmagnete eingebaut sein, deren Strom- und nötigenfalls Kühlwasserversorgung durch die Befestigung der Driftröhren geführt ist.[13] Alvarez-Beschleuniger eignen sich gut für Ionen bis zu etwa 60 % der Lichtgeschwindigkeit. Das namengebende erste Exemplar in Berkeley war 12 m lang und beschleunigte Protonen auf 32 MeV. Alvarez-Strukturen werden beispielsweise als Vorstufen für die großen Ionensynchrotrons eingesetzt.

Linearbeschleuniger für Elektronen

Wanderwellenbeschleuniger

Zur Weiterbeschleunigung von Elektronen, die schon annähernd Lichtgeschwindigkeit haben, eignet sich besonders gut eine fortschreitende Welle (Wanderwelle) in einem zylindrischen Hohlleiter; die Elektronen „surfen“ dann auf dem Wellenkamm.[15][16] Die beschleunigende Kraft wirkt also ständig und nicht nur pulsierend auf das Teilchen. Genutzt wird die TM01-Mode. Die Phasengeschwindigkeit der Welle, die in einem glatten Rohr größer als die Lichtgeschwindigkeit wäre, wird durch regelmäßig angebrachte kreisrunde Lochblenden („Irisblenden“) im nötigen Maß verringert. Ein solches Beschleunigungsrohr heißt auch Runzelröhre.[17][18] Man kann es auch als eine Reihe von direkt aneinandergesetzten Pillbox-Resonatoren betrachten, deren „Böden“ in der Mitte durchbohrt sind.[19] Stehende Wellen werden hier jedoch durch die Kombination von Blendenabstand und Wellenlänge vermieden.

Die Wanderwelle entsteht, indem die Hochfrequenzleistung am Anfang des Rohres eingespeist wird. Durch die Energieabgabe an die Teilchen (und unvermeidlich auch an die Rohrwand) wird die Welle gedämpft. Am Ende des Rohres – bei größeren Beschleunigern am Ende eines Rohrabschnitts von höchstens einigen Metern[20] – wird die nicht von Teilchenstrahl und Rohrwand absorbierte Restleistung ausgekoppelt und in einem Lastwiderstand reflexionsfrei absorbiert. Größere Wanderwellenbeschleuniger bestehen dementsprechend aus mehreren bis vielen solchen Abschnitten mit jeweils eigener Leistungsversorgung.

Der bisher energiestärkste Elektronenbeschleuniger der Welt (45 GeV, 3 km Länge) im Stanford Linear Accelerator Center ist ein Wanderwellenbeschleuniger, ebenso die meisten der kompakten Elektronen-Linearbeschleuniger für medizinische und industrielle Zwecke mit Energien von etwa 5 bis 50 MeV.

Supraleitende Hohlraumresonatoren

Supraleitender Hohlraumresonator aus Niob zur Beschleunigung von Elektronen (TESLA-Projekt). Der neunzellige Resonator von 1,25 m Länge hat die Resonanzfrequenz 1,3 GHz

Ein grundsätzlicher Nachteil der Wanderwellenbeschleunigung ist, dass die Welle in ihrem Verlauf gedämpft wird; dagegen kann mit einzeln gespeisten Resonatoren – bei entsprechend höherem Aufwand für die Erzeugung der Hochfrequenzleistung – dem Strahl auf der gesamten Beschleunigerlänge die maximal mögliche Feldstärke zur Verfügung gestellt werden.[21] Bei Anlagen für sehr hohe Endenergie ist eine möglichst hohe Energiezunahme pro Meter Länge entscheidend, um die Gesamtlänge und damit die Baukosten zu minimieren. Daher sind hier auch für Elektronen stehende Wellen in Hohlraumresonatoren vorteilhaft, insbesondere, wenn man den Aufwand für supraleitende Komponenten in Kauf nimmt. Bei DESY wurde der rechts abgebildete Resonatortyp für Elektronen entwickelt und getestet. Auch hier wird die TM010-Welle verwendet. Mit diesem Typ wurden bei sorgfältiger Formgebung und Oberflächenbehandlung Feldstärken bis zu etwa 35 MV pro Meter erreicht.[22]

Der gleiche Resonatortyp wird beispielsweise auch im Linearbeschleuniger der Anlage ELBE genutzt, ein ähnlicher 20-zelliger Typ im Linearbeschleuniger S-DALINAC. Bei diesen und ähnlichen Anlagen für mittelhohe Elektronenenergien (unter 100 MeV) dient der Einsatz der Supraleitung weniger einem maximalen Energiegewinn pro Meter als vielmehr der Ersparnis an Hochfrequenzleistung, so dass kleinere Leistungsverstärker ausreichen.

Dauerstrich- und gepulster Betrieb

Jeder Wechselspannungsbeschleuniger kann grundsätzlich nur solche Teilchen beschleunigen, die die Beschleunigungsstrecke bei geeigneter Phasenlage der Wechselspannung erreichen. Daher ist der Teilchenstrahl immer in „Pakete“ unterteilt, also gepulst und nicht kontinuierlich. Diese Mikropulsung wird jedoch in der Praxis meist nicht als Pulsung bezeichnet. Sofern die Hochfrequenzquelle ständig arbeitet und mit jeder Einzelwelle ein Teilchenpaket (englisch bunch) beschleunigt wird, wird von continuous wave (cw)-Betrieb oder Dauerstrichbetrieb gesprochen.[23] Von gepulstem Betrieb oder gepulstem Strahl spricht man erst dann, wenn die Hochfrequenzspannung nicht ständig anliegt, sondern regelmäßig ein- und ausgeschaltet („getastet“) wird, so dass Makropulse entstehen.

Konzepte in Entwicklung

Zurzeit (2015) sind verschiedene neue Konzepte in der Entwicklung. Das primäre Ziel ist, Linearbeschleuniger billiger, mit besser fokussierten Strahlen, höherer Energie oder höherem Strahlstrom zu realisieren.

Induktions-Linearbeschleuniger

Induktions-Linearbeschleuniger nutzen zur Beschleunigung – wie das Betatron – das durch ein zeitlich veränderliches Magnetfeld induzierte elektrische Feld. Der Teilchenstrahl durchläuft eine Reihe von hintereinander stehenden ringförmigen Ferritkernen, die durch Hochstromimpulse magnetisiert werden und ihrerseits jeweils einen elektrischen Feldstärkepuls entlang der Achse der Strahlrichtung erzeugen. Induktions-Linearbeschleuniger werden für kurze Hochstrompulse von Elektronen, aber auch von Schwerionen[24] in Betracht gezogen. Das Konzept geht auf Arbeiten von Nicholas Christofilos[25] zurück. Seine Realisierung ist stark abhängig von Fortschritten bei der Entwicklung geeigneter Ferrit-Materialien.[26] Erreicht wurden mit Elektronen Pulsstromstärken bis zu 5 Kiloampere bei Energien bis zu 5 MeV und Pulsdauern im Bereich 20 bis 300 Nanosekunden.[27]

Energy Recovery Linac

In bisherigen Elektronen-Linearbeschleunigern werden die beschleunigten Teilchen nur einmal verwendet und danach in einen Absorber (beam dump) geleitet, in dem ihre Restenergie in Wärme umgewandelt wird. In einem Energy Recovery Linac (ERL; wörtlich etwa: „Energie-Rückgewinnungs-Linearbeschleuniger“) werden stattdessen die in Resonatoren beschleunigten und beispielsweise in Undulatoren genutzten Elektronen um 180 Grad phasenverschoben wieder durch den Beschleuniger zurückgeführt. Sie passieren die Resonatoren daher jeweils in der abbremsenden Phase und führen so ihre restliche Energie wieder dem Feld zu. Das Konzept ist vergleichbar mit dem Hybridantrieb von Kraftfahrzeugen, wo die beim Bremsen abgegebene Bewegungsenergie durch Aufladen einer Batterie für das nächste Beschleunigen nutzbar gemacht wird.

Über entsprechende Entwicklungsarbeiten wurde unter anderem vom Brookhaven National Laboratory[28] und vom Helmholtz-Zentrum Berlin mit dem Projekt „bERLinPro“[29] berichtet. Der Berliner Versuchsbeschleuniger nutzt supraleitende Niob-Hohlraumresonatoren der oben genannten Art. 2014 waren weltweit drei Freie-Elektronen-Laser auf Basis von Energy Recovery Linacs in Betrieb: im Jefferson Lab (USA), im Budker-Institut für Kernphysik (Russland) und bei JAEA (Japan).[30] An der Universität Mainz ist ein ERL mit der Bezeichnung MESA im Bau und soll (Stand 2019) im Jahr 2022 in Betrieb gehen.[31]

Compact Linear Collider

Das Konzept des Compact Linear Colliders (CLIC) (ursprüngliche Bezeichnung CERN Linear Collider, mit gleicher Abkürzung) für Elektronen und Positronen sieht einen Wanderwellenbeschleuniger für Energien der Größenordnung 1 Tera-Elektronenvolt (TeV) vor.[32][33] Statt der sonst nötigen zahlreichen Klystron-Verstärker zur Erzeugung der Beschleunigungsleistung soll ein zweiter, parallel stehender Elektronenlinearbeschleuniger geringerer Energie eingesetzt werden, der mit supraleitenden Kavitäten arbeitet, in denen sich stehende Wellen bilden. Aus ihm wird in regelmäßigen Abständen Hochfrequenzleistung ausgekoppelt und auf den Hauptbeschleuniger übertragen. Auf diese Weise soll die sehr hohe Beschleunigungsfeldstärke von 80 MV/m erreicht werden.

Kielfeld-Beschleuniger

Bei Hohlraumresonatoren begrenzt die Durchschlagsfestigkeit die maximale Beschleunigung, die innerhalb einer bestimmten Strecke erreicht werden kann. Diese Grenze kann in Kielfeld-Beschleunigern umgangen werden: Ein Laser- oder Teilchenstrahl regt eine Oszillation in einem Plasma an, die mit sehr starken elektrischen Feldstärken verbunden ist. Damit lassen sich möglicherweise deutlich kompaktere Linearbeschleuniger bauen.

Einsatz

Ionen-Linearbeschleuniger

In der physikalischen Grundlagenforschung werden Linearbeschleuniger allgemein zu den gleichen Zwecken wie Ringbeschleuniger eingesetzt. Mit Ionen-Linearbeschleunigern auf der Basis stehender Wellen wird beispielsweise die Protonenenergie 800 MeV bei einer Stromstärke (zeitlicher Mittelwert) des Strahls von 1 mA erreicht (LANSCE-Beschleuniger im Los Alamos National Laboratory, USA).[34] Anlagen für kleinere Protonenenergien erreichen beispielsweise 25 mA routinemäßig.[35] Für Zwecke angewandter Forschung können noch höhere Stromstärken nötig sein: der Prototyp (im Bau, Stand 2012) eines Linearbeschleunigers für das IFMIF-Projekt soll einen cw-Deuteronenstrahl von 125 mA liefern.[36]

Praktisch jede Ionen-Synchrotronanlage nutzt einen Linearbeschleuniger als Vorstufe.

Elektronen-Linearbeschleuniger

Medizinischer Elektronen-Linearbeschleuniger zur Krebstherapie am UKSH Campus Kiel

Bei Elektronen haben Linearbeschleuniger vor Ringbeschleunigern den Vorteil, dass der Energieverlust durch Synchrotronstrahlung vermieden wird. Daher werden auch Collider für Elektronen sehr hoher Energie mit Linearbeschleunigern gebaut. Der geplante International Linear Collider sieht zwei gegeneinander gerichtete Linearbeschleuniger von je etwa 15 km Länge und einer Endenergie von bis zu 500 GeV pro Teilchen vor.

Der bestehende SLC-Elektronenbeschleuniger in Stanford, Teil einer Collideranlage, erzeugt mit der Wanderwellentechnik einen Strahl von 45 GeV und zeitgemittelt 670 nA (Nanoampere).[34] Der ELBE-Beschleuniger liefert mit den oben genannten supraleitenden Resonatoren bei fast 40 MeV einen cw-Strahl von 1,6 mA, aber in kurzen Pulsen bis zu mehreren hundert Ampere.[37]

Manche Freie-Elektronen-Laser arbeiten mit einem Linearbeschleuniger, beispielsweise die Anlage FLASH im Forschungszentrum DESY. Auch in Rennbahn-Mikrotrons erfolgt die eigentliche Beschleunigung durch einen Elektronenlinac.

Praktische Anwendungen gibt es vor allem für kürzere Elektronen-Linearbeschleuniger. Mit ihnen wird meist Röntgenstrahlung erzeugt, hauptsächlich in medizinischen Geräten zur Strahlentherapie.[38][39] Viele dieser Geräte sind für abwechselnde Nutzung beider Strahlenarten, Elektronenstrahl und Röntgenstrahlung, eingerichtet.[40] Typisch bei den medizinischen Geräten sind Strahlströme von zeitgemittelt etwa 1 mA für die Röntgenstrahlen-Erzeugung oder 1 µA für direkte Bestrahlung mit Elektronen.[21]

Elektronen-Linearbeschleuniger finden aber auch zunehmend in der Industrie Anwendung. Ihre Einsatzmöglichkeiten sind wie für andere Beschleunigertypen vielfältig und reichen von der Durchstrahlungsprüfung an dickwandigen Bauteilen und der Durchleuchtung von Frachtcontainern bis hin zur Strahlensterilisation oder Lebensmittelbestrahlung.[41]

Literatur

Allgemein:

  • Hanno Krieger: Strahlungsquellen für Technik und Medizin. Teubner, 2005, ISBN 3-8351-0019-X.
  • Helmut Wiedemann: Particle Accelerator Physics. Springer, 2007, ISBN 978-3-540-49043-2.
  • Frank Hinterberger: Physik der Teilchenbeschleuniger und Ionenoptik. Springer, 2008, ISBN 978-3-540-75281-3.
  • Thomas P. Wangler: RF Linear Accelerators. Wiley-VCH, 2008, ISBN 978-3-527-40680-7.
  • Samy Hanna: RF Linear Accelerators for Medical and Industrial Applications. Artech House, 2012, ISBN 978-1-60807-090-9.

Über Induktions-Linearbeschleuniger:

  • Ken Takayama, Richard Briggs: Induction Accelerators. Springer, 2011, ISBN 978-3-642-13916-1.

Einzelnachweise

  1. F. Hinterberger: Physik der Teilchenbeschleuniger und Ionenoptik. 2. Auflage, Springer, 2008, S. 39.
  2. G. Ising: Prinzip einer Methode zur Herstellung von Kanalstrahlen hoher Voltzahl. In: Arkiv för Matematik, Astronomi och Fysik. Band 18, Nr. 30, 1924, S. 1–4.
  3. Erik Gregersen: The Britannica Guide to Particle Physics. Rosen Education Service, 2011, ISBN 978-1615303335, S. 116
  4. K. Blasche, H. Prange: Die GSI in Darmstadt, Teil I. Physikalische Blätter Band 33, Juni 1977, S. 249–261, Online
  5. F. Hinterberger: Physik der Teilchenbeschleuniger und Ionenoptik. 2. Auflage, Springer, 2008, S. 40.
  6. Luis W. Alvarez: The design of a proton linear accelerator. In: Physical Review. Band 70, Nr. 9–10, 1946, S. 799–800.
  7. E. L. Ginzton, W. W. Hansen, W. R. Kennedy: A Linear Electron Accelerator. In: Review of Scientific Instruments. Band 19, 1948, S. 89–108, doi:10.1063/1.1741225.
  8. F. Hinterberger: Physik der Teilchenbeschleuniger und Ionenoptik. 2. Auflage, Springer, 2008, S. 6 u. 117–146.
  9. I. M. Kapchinskii, V. A. Teplyakov: Linear Ion Accelerator with spatially homogeneous strong focusing. In: Instrum. Exp. Tech. (USSR) (Engl. Transl.) No. 2, 322-6(1970).
  10. Thomas P. Wangler: RF Linear Accelerators. 2. Auflage, John Wiley & Sons, 2008, S. 232.
  11. R. H.Stokes, T. P. Wangler: Radiofrequency Quadrupole Accelerators and Their Applications. In: Annual Review of Nuclear and Particle Science Bd. 38, 1988, S. 97–118, doi:10.1146/annurev.ns.38.120188.000525
  12. C. Zhang, A. Schempp: Beam dynamics studies on a 200 mA proton radio frequency quadrupole accelerator. In: Nuclear Instruments and Methods in Physics Research Section A. Bd. 586, Nr. 2, 2008, S. 153–159, doi:10.1016/j.nima.2007.12.001.
  13. a b c F. Hinterberger: Physik der Teilchenbeschleuniger und Ionenoptik. 2. Auflage, Springer, 2008, S. 100–104.
  14. R. Kollath: Teilchenbeschleuniger. 2. Auflage, Vieweg, 1962, S. 269 ff.
  15. Linearbeschleuniger der Dortmunder ELekTronenspeicherring-Anlage (DELTA). TU Dortmund, abgerufen am 12. Oktober 2013.
  16. F. Hinterberger: Physik der Teilchenbeschleuniger und Ionenoptik. 2. Auflage, Springer, 2008, S. 46 u. 98–100.
  17. R. Kollath: Teilchenbeschleuniger. 2. Auflage, Vieweg, 1962, S. 289 f.
  18. F. Hinterberger: Physik der Teilchenbeschleuniger und Ionenoptik. 2. Auflage, Springer, 2008, S. 46.
  19. Thomas P. Wangler: RF Linear Accelerators. 2. Auflage, John Wiley & Sons, 2008, S. 5.
  20. F. Hinterberger: Physik der Teilchenbeschleuniger und Ionenoptik. 2. Auflage, Springer, 2008, S. 99
  21. a b D. Greene, P. C. Williams: Linear Accelerators for Radiation Therapy. 2. Auflage, New York: Taylor & Francis, 1997, S. 23–24
  22. L. Lilje et al.: Achievement of 35MV/m in the superconducting nine-cell cavities for TESLA. (PDF; 480 kB) In: Nucl. Inst. and Meth. A. Bd. 524, 2004, S. 1–12, doi:10.1016/j.nima.2004.01.045.
  23. F. Hinterberger: Physik der Teilchenbeschleuniger und Ionenoptik. 2. Auflage, Springer, 2008, S. 7–8.
  24. Heavy ions offer a new approach to fusion. CERN-Courier, 26. Juni 2002. Abgerufen am 12. Oktober 2013.
  25. N. C. Christofilos et al.: High-Current Linear Induction Accelerator for Electrons. In: Rev. Sci. Instrum. Bd. 35, Nr. 7, 1964, S. 886–890, doi:10.1063/1.1746846.
  26. S. Ozaki et al. (Hrsg.): Feasibility Study-II of a Muon-Based Neutrino Source. BNL-52623, Brookhaven National Laboratory 2001, S. 9–1–9-24 (PDF-Datei).
  27. G. Musiol, J. Ranft, R. Reif, D. Seeliger: Kern- und Elementarteilchenphysik. 2. Auflage, Verlag H. Deutsch, Frankfurt 1995, ISBN 3-8171-1404-4, S. 68.
  28. Ilan Ben-Zvi: Energy Recovery Linac Development at Brookhaven National Laboratory. (PDF; 43,2 MB) 14. März 2013, archiviert vom Original am 21. Oktober 2013; abgerufen am 21. Oktober 2013 (englisch).
  29. Helmholtz-Zentrum Berlin: Kompakte Elektronenpakete für brillantes Licht. 24. August 2017, archiviert vom Original am 28. Februar 2018; abgerufen am 28. Februar 2018.
  30. Lia Merminga: Energy-Recovery Linacs. In: E. Jaeschke et al. (Hrsg.): Synchrotron Light Sources and Free-Electron Lasers, Springer, Cham 2015, Seite 1–33, doi:10.1007/978-3-319-04507-8_11-18.
  31. K. Aulenbacher: Energierecycling für Beschleuniger. Physik Journal Jg. 18 (2019) Nr. 5, S. 36–41
  32. S. van der Meer: The CLIC project and the design for an e+e collider. CERN/PS/88-45 (1988). PDF-Dokument
  33. T. O. Raubenheimer et al.: A 3 TeV e+e linear collider based on CLIC technology. CERN-2000-008 (2000). PDF-Dokument
  34. a b Thomas P. Wangler: RF Linear Accelerators. 2. Auflage, John Wiley & Sons, 2008, S. 15.
  35. Takashi Kato et al. (Hrsg.): J-PARC Annual Report 2010. (englisch; PDF; 9,2 MB) High Energy Accelerator Research Organization (KEK) und Japan Atomic Energy Agency (JAEA) 2012, S. 12.
  36. A. Mosnier et al.: Present status and developments of the linear IFMIF prototype accelerator (LIPAc). In: Proceedings of IPAC2012. 20.–25. Mai 2012, New Orleans, USA, S. 3910–3912.
  37. M. Helm, P. Michel, M. Gensch und A. Wagner: Alles im Fluss. Physik Journal 15 (2016) Nr. 1 Seite 29–34
  38. Samy Hanna: RF Linear Accelerators for Medical and Industrial Applications. Artech House, 2012, S. 91–120.
  39. Arne Grün, Thomas Kuhnt u. a.: Re-Bestrahlung bei lokal rezidivierten Kopf-Hals-Tumoren und beim Prostatakarzinom. In: Deutsches Ärzteblatt. Band 117, Heft 10, 6. März 2020, S. 167–174, hier: S. 169 (zur Teletherapie)
  40. H. Krieger: Strahlungsquellen für Technik und Medizin. Teubner, 2005, S. 195.
  41. Samy Hanna: RF Linear Accelerators for Medical and Industrial Applications. Artech House, 2012, S. 121–148.

Siehe auch