Schrägachsenmaschine
Eine Schrägachsenmaschine ist ein Gerät, das in der Hydraulik als Axialkolbenpumpe zur Umsetzung mechanischer Energie (Drehmoment, Drehzahl) in hydraulische Energie (Volumenstrom, Druck) oder als Axialkolbenmotor zur Umsetzung von hydraulischer Energie (Volumenstrom, Druck) in mechanische Energie (Drehmoment, Drehzahl) eingesetzt wird. Die Schrägachsenmaschine wurde 1924 von den Ingenieuren Hans Thoma und Heinrich Kosel zum Patent angemeldet.[1][2][3] Nach der Systematik des Hydraulikkonstrukteurs und -pioniers Hans Molly wird die Schrägachsenmaschine auch als MH-Maschine bezeichnet.[4]
Aufbau

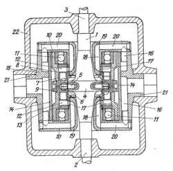
Im Inneren der Schrägachsenmaschine befindet sich ein Ring mit kreisförmig angeordneten Zylinderbohrungen, in die in gleicher Anordnung Fingerkolben (i. Folg. „Kolben“) eingesetzt sind; der Ring heißt Kolbengehäuse (i.Folg. „Gehäuse“). Die Kolben sind, analog zur Schrägscheibenmaschine, über gelenkige Lager mit einer radförmigen Gleitscheibe verbunden. Die Achse des Gehäuses (und damit der Kolben) bildet mit der Achse der Gleitscheibe einen Winkel . Bei verstellbaren Maschinen lässt sich der Winkel verändern. Diese Art der Verbindung zwischen Kolben und Gleitscheibe wird als axial bezeichnet.
Der Winkel bewirkt, dass die Eindringtiefe je eines Kolbens in das Gehäuse während einer Drehung ein Maximum und ein Minimum durchläuft.
Pumpen und Motoren sind im Aufbau ähnlich. Falls die Maschine als Hydraulikpumpe verwendet wird, werden die Kolben auf einer Seite aus dem Gehäuse herausgezogen und auf der anderen Seite hineingedrückt. Dadurch entsteht auf der Seite, auf der die Kolben aus dem Gehäuse austreten, Sog, auf der anderen Seite hingegen Druck, mit dem die Maschine ein Förder- bzw. Schluckvolumen transportiert. Umgekehrt beträgt dieses Volumen null, solange Gleitscheibe und Gehäuse in einer Linie liegen ().
Falls die Maschine als Hydraulikmotor verwendet wird, bewirkt umgekehrt unterschiedlicher Druck auf unterschiedlichen Seiten des Gehäuses eine Drehung der Gleitscheibe. Dieser Druck kann wiederum von einer Hydraulikpumpe erzeugt werden, so dass beide Anwendungen der Schrägachsenmaschine kombiniert sind. Eine solche Kombination bildet ein hydrostatisches Getriebe.



Bauarten
Drei verschiedene Bauarten von Axialkolbenmaschinen mit Schrägachse sind gebräuchlich:
Kegelradantrieb (Volvobauart)
Die Zylindertrommel wird mittels Kegelrädern mit der Antriebswelle synchronisiert. Der Achswinkel ist hier nicht verstellbar, die Mechanik ist jedoch besonders robust und langlebig.
Kardanwelle
Hier wird die Zylindertrommel mittels einer Kardanwelle mit Kardangelenken oder Bogenzahnkupplungen synchronisiert. Der Achswinkel ist verstellbar, jedoch ist die Mechanik empfindlich gegen stoßartigen, reversierenden Betrieb.
Mitnahme durch die Kolben
Der Zylinder wird durch die Kolben mitgenommen (Bosch-Rexroth)
-
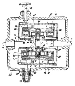
Eine Schrägachsenpumpe im Schnitt
-
Animation
Einzelnachweise
- ↑ Patent DE485815C: Pressölpumpe oder -motor mit rotierender Zylindertrommel und darin wirkenden Kolben. Angemeldet am 23. März 1924, veröffentlicht am 16. Januar 1930, Anmelder: Heinrich Kosel, Hans Thoma.
- ↑ a b Patent US1736754A: Pump or motor. Angemeldet am 20. Juni 1927, veröffentlicht am 19. November 1929, Erfinder: Heinrich Kosel, Hans Thoma.
- ↑ Hans Jürgen Matthies, Karl Theodor Renius: Einführung in die Ölhydraulik. 6., aktualisierte und erweiterte Auflage. Vieweg + Teubner, Wiesbaden 2008, ISBN 978-3-8351-0238-5. S. 20.
- ↑ Hans Jürgen Matthies, Karl Theodor Renius: Einführung in die Ölhydraulik. 6., aktualisierte und erweiterte Auflage. Vieweg + Teubner, Wiesbaden 2008, ISBN 978-3-8351-0238-5. S. 71.