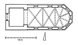
Templerkommende Braunschweig

Nr. 20: Matthäikapelle,
Nr. 19: Areal des Tempelhofes
Nr. 21: Deutschordenshof.
(Aus Urkundenbuch der Stadt Braunschweig. Band 3, Blatt II.)
Die Templerkommende Braunschweig (Tempelhof) war eine Niederlassung des Templerordens in Braunschweig (Niedersachsen). Sie wurde vermutlich von Heinrich dem Löwen in den Jahren nach 1173 gestiftet. Die urkundliche Ersterwähnung datiert jedoch erst von 1289. Nach der von Papst Clemens V. verfügten Aufhebung des Templerordens 1312 wurde der Braunschweiger Tempelhof den Johannitern zugesprochen, die jedoch erst 1357 auch tatsächlich in dessen Besitz kamen. Nur zehn Jahre später (1367) verkauften sie den Tempelhof an den Heilig-Geist-Kaland in Braunschweig.
Lage
Der Tempelhof mit der Matthäikapelle lag im Stadtteil Hagen am Bohlweg (heute Platz am Ritterbrunnen vor dem Braunschweiger Schloss). Das Areal erstreckte sich vom Bohlweg Richtung Westen bis an einen kleinen Seitenkanal des Flusses Oker. Südlich an das Areal des Tempelhofes schloss sich der Deutschordenshof an.
Die Templerkommende Braunschweig

Die Gründung der Templerkommende in Braunschweig geht vermutlich auf die Initiative von Heinrich dem Löwen zurück, der 1172 eine Pilgerfahrt ins Heilige Land unternahm. Dort begegnete er sowohl dem Templerorden wie auch dem Johanniterorden. Nach seiner Rückkehr könnte er die Gründung der Templerkommende wie auch der Johanniterkommende in Braunschweig initiiert haben. Es gibt dafür aber keine urkundlichen Belege.
Die erste urkundliche Erwähnung der Templerkommende bzw. des Tempelhofes datiert erst aus dem Jahr 1289. In diesem Jahr gewährten vier Erzbischöfe und elf Bischöfe allen denjenigen einen vierzigtägigen Ablass, die der Katharinenkirche und der Matthäikapelle der Templerkommende Spenden gaben oder sie zu bestimmten Festtagen besuchten.[1]
Am 7. Mai 1303 verkaufte Bruder Friedrich Sylvester, Präzeptor der Templer in Deutschland und im Wendland Johannes genannt Felix und Heinrich genannt beim Kirchhof für ein Darlehen von 100 Mark Silber Braunschweiger Gewichts und Währung eine jährliche Rente in Höhe von zehn Mark aus den Ordenshöfen Süpplingenburg und Tempelachim. Sie war jedes Jahr bis zur Rückzahlung des Darlehens zu Martini fällig.[2]
Am 14. März 1305 verkaufte Friedrich von Alvensleben, Präzeptor der Templer in Deutschland und im Wendland einen Hof und drei Hufen zu Lamme um 35 Mark Silber an Hermann von Uehrsleben und Johann von Achim, beide Braunschweiger Bürger.[3]
Am 14. April 1305 zog Friedrich von Alvensleben die Rente von zehn Mark Silber wieder ein, die er am 7. Mai 1303 an Johann Felix und Heinrich vom Kirchhof aus den Höfen Süpplingenburg und Tempelachim verschrieben hatte und übertrug ihnen stattdessen und gegen Zahlung von weiteren 50 Mark Silbers den Zehnt und fünf Hufen zu Callem.[4]
Die Templerkommende wird den Johannitern zugesprochen
1312 wurde der Templerorden durch Papst Clemens V. verboten und aufgelöst. Die Güter des Templerordens wurden zumindest in Deutschland formell dem Johanniterorden übertragen. Allerdings gestaltete sich die Besitzübertragung meist als schwierig und langwierig, da die Landesherren die Templergüter selber in Beschlag nahmen oder sich die Besitzübertragung mit erheblichen Geldsummen honorieren ließen. Wer Kommendator des Tempelhofes in Braunschweig zur Zeit der Aufhebung des Templerordens war, ist nicht überliefert. Allerdings hatte anscheinend später der Kommendator der Kommende Süpplingenburg Herzog Otto von Braunschweig auch den Tempelhof in Braunschweig inne.
1314 musste er auf fünf Hufen in Rethen zugunsten des Kreuzklosters in Braunschweig verzichten, die sich die Kommende wohl zu Unrecht angeeignet hatte. Im Regesttitel wird er als Herr von Süpplingenburg bezeichnet.[5]
Herzog Otto von Braunschweig, der letzte Templerkomtur, ist bis 1328 auf Süpplingenburg nachweisbar. Wahrscheinlich behielt er die Kommende (und den Tempelhof in Braunschweig) sogar bis zu seinem Tod 1346. Danach wurde die Kommende Süpplingenburg und der Tempelhof in Braunschweig quasi von Herzog Magnus I. beschlagnahmt. Nach Sudendorf verpfändete er Schloss Süpplingenburg am 13. Dezember 1347 für 400 Mark Silber Braunschweiger Gewichts an seinen entfernten Vetter Herzog Wilhelm II. von Lüneburg, behielt sich aber das Recht vor, die Burg wieder einzulösen. Den Tempelhof in Braunschweig verpfändete Magnus I. am 15. Juni 1355 an Ritter Balduin von Dalem,[6] versprach aber 1357,[7][8][9] die Kommende Süpplingenburg und den Tempelhof in Braunschweig den Johannitern wieder auszuliefern. Die von ihm verpfändeten Güter mussten zuvor noch durch die Johanniter eingelöst werden. Letztendlich mussten die Johanniter den ihnen zugesagten ehemaligen Templerbesitz kaufen. Die Niederlassung der Johanniter in Braunschweig wurde bald nach der Vereinigung mit der ehemaligen Templerkommende Braunschweig zur Priorei der Kommende Süpplingenburg herab gestuft.
1358 verkaufte Hermann von Warberg, der (General-)Präzeptor der Johanniter in Sachsen, der Mark Brandenburg, Pommern und dem Wendland den von den Templern überkommenen Zehnten, eine Hufe und einen Hof in Bornum (Gemeinde Börßum, Lkr. Wolfenbüttel) an das Marienspital in Braunschweig bzw. dessen Träger dem Rat der Altstadt Braunschweig und den Vormündern des Spitals.[10] In dieser Urkunde wird mit Johannes von Lüneburg zum letzten Mal ein Kommendator der Braunschweiger Niederlassung genannt.
1359 wurde die seit 1312 leer stehende Matthäikapelle wieder hergerichtet und geweiht. Dazu überließ Hermann von Warberg, der (General-)Präzeptor des Johanniterordens für Sachsen, die Mark Brandenburg, Pommern und Wendland dem Hauptaltar der Matthäi-Kapelle neun Hufen in Schandelah und zwei Wortzinse in Braunschweig.[11][12] Dabei wird nun nur noch ein Prior der Braunschweiger Niederlassung, Johannes von Heyde genannt.
Den Templerhof mit allen innerhalb der Mauern gelegenen Gebäuden, Gärten und Plätzen sowie der St. Matthäus-Kapelle verkaufte der Johanniterorden am 4. April 1367 dem Kaland in Braunschweig für 150 Mark lötiges Silber Braunschweiger Währung und Gewichts.[13][14][15] Die Johanniter behielten sich jedoch vor, dass bei Auflösung des Kalands der Tempelhof wieder an sie zurück fallen sollte. Sie behielten sich auch die Oberaufsicht vor und hatten das Bestätigungsrecht für neu gewählte Dechanten an der Matthäikapelle.
Verkauf des ehemaligen Tempelhof (1367)
1372 bestätigte der zuständige Bischof Albrecht von Halberstadt den Verkauf.[16] Der Name Tempelhof wirkte aber noch geraume Zeit nach. So wurden die Mitglieder des Heilig-Geist-Kalands im Volksmund auch Tempelherren genannt und ihr Haus hieß 1456 immer noch der Tempelhof.[16] Daneben bürgerte sich auch der Name Matthäikaland oder Kaland zu St. Matthäus ein, nach der Matthäikapelle. 1407 war Heinrich Vischbeck Prior an der Matthäikapelle.[17]
Der Kaland verkaufte den Tempelhof mit der Matthäikapelle vor 1717 an Herzog August Wilhelm, dessen Landbaumeister Hermann Korb 1717 auf dem Areal des Stadthofes (Grauer Hof) des Klosters Riddagshausen, des Deutschordenshofes und des früheren Tempelhofes mit dem Bau des Braunschweiger Residenzschlosses begann. Die Matthäikapelle wurde in den Schlosskomplex miteinbezogen. Der Bau wurde erst 1791 vollendet. Im Braunschweiger Volksaufstand von 1830 wurde das Schloss geplündert und in Brand gesteckt. Dabei brannte der Nordflügel an den sich die Kapelle anschloss und der Mitteltrakt bis auf die Grundmauern nieder. Die Gebäudereste darunter die Matthäikapelle wurden daraufhin abgerissen.
Größe des Konvents
Nach Gebhardi sollen einst neben dem Kommendator zehn Templer auf dem Tempelhof gewohnt haben.[11] In der Urkunde von 1303 werden allerdings nur noch drei Brüder, darunter der Kommendator genannt.[2]

Die Templerkapelle (oder Matthäikapelle)
Um 1750 wurde die Templerkapelle, in den mittelalterlichen Urkunden wurde sie als Matthäikapelle bezeichnet, von Anton August Beck gezeichnet. Daher kann die Baustruktur relativ sicher rekonstruiert werden. Es handelte sich um einen kleinen, gewölbten Saalbau, bestehend aus zwei Jochen mit einem 5/8-Chorschluss. Sie war damit vergleichbar mit der Templerkapelle in Mücheln bei Wettin (Saalekreis, Sachsen-Anhalt) (ebenfalls mit zwei Jochen und 5/8-Chorschluss). Sie dürfte damit wohl aus ähnlicher Zeit gestammt haben (um 1280).[18] Der bereits erwähnte Ablass für die Matthäikapelle (1289) könnte noch in die Bauzeit der Kapelle fallen. Nach der Aufhebung des Templerordens 1312 stand sie zunächst leer, wurde aber 1359 unter den Johannitern wieder hergerichtet und neu geweiht.[19] Drei fromme Witwen Mathilde Woltmann, Elisabeth von Plauen und Margarethe von Meinum bewidmeten den Hochaltar, an dem täglich eine Messe gelesen wurde. Über dem Altar brannte eine ewige Lampe, die 1381 von Hermann von Gustidde gestiftet worden war.[20] 1407 kam ein Altarbild in die Kirche, das die Verkündigung Mariens zeigte. Es gab außerdem noch einen der Heiligen Dreifaltigkeit gewidmeten Altar, der von dem Dechanten Heinrich von Visbeck gestiftet worden war. Es gab noch einen dritten Altar. Der Dechant hielt an jedem ersten Tag im Monat, den Kalenden (davon abgeleitet der Kaland) und an der Kirchweihe (22. September) ein Hochamt.
Für 1810/1812 ist noch ein Umbau der Kapelle dokumentiert. 1830 wurde sie nach dem Brand der Schlossgebäude abgebrochen.[18]
Kommendatoren/Komture
Literatur
- Georg Bode (Bearb.): Urkundenbuch der Stadt Goslar und der geistlichen Stiftungen daselbst. 4. Teil. 831 S., Verlag von Otto Hendel, Halle 1905 (Im Folgenden abgekürzt Urkundenbuch der Stadt Goslar, Band 4 mit entsprechender Seitenzahl und Urkundennummer).
- Julius Justus Gebhardi: Der mit dem Matthäus-Stifft verbundene grosse Caland zum H. Geist. Oder Historische Nachricht von dem Stiffte S. Matthäi in Braunschweig, sowol nach dessen Aufrichtung unter dem Tempel-Orden, als folgenden Zustande bey den Johanniter-Rittern, und jetzigen Beschaffenheit unter der Calands-Bruderschafft. Ludolph Schröders Witwe, Braunschweig 1739. Online bei Google Books (im Folgenden abgekürzt Gebhardi, Caland mit entsprechender Seitenzahl).
- Ludwig Hänselmann, Heinrich Mack: Urkundenbuch der Stadt Braunschweig. Band 3: MCCCXXI-MCCCXL. Neudruck der Ausgabe Braunschweig 1895, Osnabrück, H. Th. Wenner, 1975.
- Ludwig Haenselmann: Urkundenbuch der Stadt Braunschweig. Band 2: MXXI-MCCCXX. I–XVIII, 749 S., A. Schwetschke und Sohn, Braunschweig 1900.
- Nicolaus Heutger: Die Tempelherren einst und heute: zum 50. Jubiläum der Reaktivierung des Tempelherren-Ordens in Deutschland. 225 S., Lukas-Verlag, Berlin, 2007 Vorschau bei Google Books (im Folgenden abgekürzt Heutger, Tempelherren mit entsprechender Seitenzahl)
- Henning Steinführer: Braunschweig - Templer. In: Josef Dolle, Dennis Knochenhauer (Hrsg.): Niedersächsisches Klosterbuch. Verzeichnis der Klöster, Stifte, Kommenden und Beginenhäuser in Niedersachsen und Bremen von den Anfängen bis 1810. Teil 1 Abbingwehr bis Gandersheim. S. 142–143, (Veröffentlichungen des Instituts für Historische Landesforschung der Universität Göttingen 56,2) 1. Aufl., Verlag für Regionalgeschichte, Bielefeld 2012, ISBN 978-3-89534-956-0 (im Folgenden abgekürzt Steinführer, Niedersächsisches Klosterbuch, 1, mit einsprechender Seitenzahl)
- Hermann Sudendorf: Urkundenbuch zur Geschichte der Herzöge von Braunschweig und Lüneburg. 3. Teil (vom Jahre 1357 bis zum Jahre 1369). Carl Rümpler, Hannover 1862. (im Folgenden abgekürzt Sudendorf, Urkundenbuch mit entsprechender Seitenzahl; Online bei Google Books)
Einzelnachweise
- ↑ Urkundenbuch der Stadt Braunschweig. Band 2. S. 163 (Textarchiv – Internet Archive).
- ↑ a b c Urkundenbuch der Stadt Braunschweig. Band 2. S. 266. (Textarchiv – Internet Archive).
- ↑ Urkundenbuch der Stadt Braunschweig. Band 2. S. 286. (Textarchiv – Internet Archive).
- ↑ Urkundenbuch der Stadt Braunschweig. Band 2. S. 287. (Textarchiv – Internet Archive).
- ↑ Urkundenbuch der Stadt Braunschweig. Band 2. S. 416. (Textarchiv – Internet Archive).
- ↑ Urkundenbuch Stadt der Braunschweig. Band 5. Hahnsche Buchhandlung, Hannover 1994. ISBN 3-87898-057-4 Online bei TU Braunschweig
- ↑ Gebhardi, Caland, S. 102, Urk.Nr.XXXIII (= 33) Online bei Google Books
- ↑ Urkundenbuch der Stadt Braunschweig. Band 5. Hahnsche Buchhandlung, Hannover 1994. ISBN 3-87898-057-4 Online bei TU Braunschweig
- ↑ Urkundenbuch der Stadt Braunschweig. Band 5. Hahnsche Buchhandlung, Hannover 1994. ISBN 3-87898-057-4 Online bei TU Braunschweig
- ↑ Urkundenbuch der Stadt Goslar. Band 4, S. 474, Urk.Nr. 624 vom 1. Februar 1358 (Textarchiv – Internet Archive).
- ↑ a b Anonymus: Die Templer und Johanniter in der Stadt Braunschweig. Wochenblatt der Johanniter-Ordens-Balley Brandenburg, 26: 297–300, Berlin 1883.
- ↑ Urkundenbuch der Stadt Goslar. Band 4, S. 502, Urk.Nr. 668 vom 20. September 1359 (Textarchiv – Internet Archive).
- ↑ Sudendorf, Urkundenbuch, S. XII Online bei Google Books
- ↑ Gebhardi, Caland, S. 53 Online bei Google Books
- ↑ Gebhardi, Caland, S. 84 Online bei Google Books
- ↑ a b Heutger, Tempelherren, S. 76 books.google.de
- ↑ Gustav Schmidt: Geschichtsquellen der Provinz Sachsen und angrenzender Gebiete, Band 21, Päbstliche Urkunden und Regesten aus den Jahren 1295-1352. Druck und Verlag von Otto Hendel, Halle, 1886. Online bei Google Books, S. 81, Urk.Nr. 31.
- ↑ a b c Günther Binding, Matthias Untermann: Kleine Kunstgeschichte der mittelalterlichen Ordensbaukunst in Deutschland. 3. ergänzte Auflage, 439 S., Wissenschaftliche Buchgesellschaft, Darmstadt 2001, ISBN 3-8062-1563-4, S. 312.
- ↑ Gebhardi, Caland, S. 90, Urk.Nr.XVII (= 17) Online bei Google Books
- ↑ Gebhardi, Caland, S. 96, Urk.Nr.XXII (= 22) Online bei Google Books
- ↑ Steinführer, Niedersächsisches Klosterbuch, 1, S. 143.
Weblinks
- Die Templerkommende Braunschweig auf templerlexikon.uni-hamburg.de
- Beschreibung der Templerkommende Braunschweig auf der Niedersächsischen Klosterkarte des Instituts für Historische Landesforschung
Koordinaten: 52° 16′ N, 10° 32′ O

