Tessina


Die Tessina war mit einer Größe von 54 × 46 × 17 mm die kleinste zweiäugige Spiegelreflexkamera der Welt und wurde von 1960 bis 1985 in der Schweiz produziert. Kommerziell war sie kein Erfolg, aber Geheimdienste in Ost und West schätzten die kleine Kamera.[1]
Geschichte
Erfinder der Tessina-Kamera war der deutsche Ingenieur Rudolf Steineck. Er lebte in den 1950er Jahren im Tessin und wählte deshalb für seine Erfindung auch den Namen seiner Wahlheimat. Bereits 1954 meldete er ein erstes Patent an,[2] 1955 liess er den Namen schützen. Steineck hatte bereits zuvor Patente für optische Geräte angemeldet. Der Ingenieur hatte keinen guten Ruf, was die Umsetzung seiner Ideen anging. Trotzdem gelang es ihm, Siegrist & Cie. in Grenchen von der Produktion zu überzeugen. Als Konstrukteur konnte er Paul Nagel gewinnen. Er war der Bruder von August Nagel, des Gründers der Contessa-Camerawerke in Stuttgart, eines Betriebs, der später von Kodak übernommen wurde. Die Kamera war kommerziell nie ein Erfolg. In Grenchen wurden zwischen 1960 und 1985 rund 25'000 Kameras hergestellt.

Den Verkauf wickelte das Unternehmen Concava in Lugano ab, das eigens für diesen Zweck gegründet worden war und bis 1967 auch Linsen herstellte. Ausserhalb der Schweiz übernahmen Partner den Verkauf: für Deutschland Robot-Berning und für die USA der Auslandschweizer Karl Heitz in New York. Heitz war Importeur für Leica-Kameras und hatte gute Kontakte zur US-Regierung.
Der Hersteller Siegrist & Cie. verfügte über keinerlei Erfahrung bei der Herstellung von Kameras und Kamerabestandteilen. Er war ein Zulieferer für Uhreneinzelteile und wollte mit der Produktion die Diversifikation ausbauen. Schon die Entwicklung der Tessina-Kameras erwies sich teurer als angenommen. Das hing auch damit zusammen, dass der Erfinder zunächst selbstständig Aufträge vergab.[1][3]
Spezifikationen
Die Tessina hatte einen Federaufzug mit Motorbetrieb und konnte acht Bilder hintereinander aufnehmen, ohne dass man nachladen musste. Sie verwendete handelsüblichen Kleinbildfilm, der aber in spezielle Patronen abgefüllt werden musste. Dafür gab es ein eigens entwickeltes Tessina-Umspulgerät. Im Handel waren auch fertig abgefüllte Patronen erhältlich. Das Bildformat war mit 14 × 21 mm kleiner als jenes einer Kleinbildkamera, wodurch auf dem gleichen Film mehr Bilder untergebracht werden konnten.[4] Die Kamera bestand aus 200 Teilen und war nur 170 Gramm schwer. Die Produktion bei Siegrist & Cie. in Grenchen lief von 1960 bis 1985, die Kamera war aber bis in die 1990er Jahre zu kaufen. Sie verfügte über eine ganz spezielle Eigenschaft: Sie hatte einen Federmotor mit einer Gangreserve für 5 bis 7 Bilder; nach dem Auslösen wurde der Film automatisch transportiert. Dies machte sie für Aufnahmen, bei denen die Kamera etwa mit einem Kleidungsstück getarnt war, grundsätzlich geeignet. Dabei entstand allerdings ein charakteristischer Ton, eine Art Fiepen, was in der amerikanischen Zeitschrift Popular Photography folgendermassen kommentiert wurde: «Was soll man zu einer Kamera sagen, die beim Auslösen tönt wie eine verschreckte Maus.»[1] Die Tessina wurde in drei Versionen ausgeliefert, und zwar als Tessina 35, Tessina Automatic 35 und als Tessina L. Dazu gab es verschiedene Farbvarianten und Zubehörmaterial, zum Beispiel einen Winkelsucher, Stativ und Blitz oder ein Uhrenarmband, um daran die Kamera wie eine Uhr zu fixieren. Die Tessina hatte gemäss Gebrauchsanleitung eine merkwürdige Eigenart: «Sehr wichtig! Machen Sie den Photofachmann darauf aufmerksam, dass die Negative seitenverkehrt zu kopieren bzw. zu vergrössern sind, sonst wird Ihr Bild … seitenverkehrt!»[5]
-
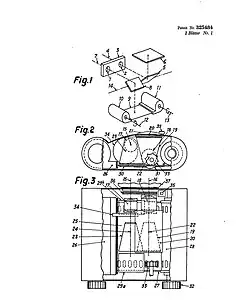
Explosionszeichnung zum Schweizer Patent für die Tessina von 1957 -
Schweizer Patentschrift für die Tessina von 1957 von Max Steineck -
Tessina 35 Frontansicht -
Tessina 35 Rückansicht
Tessina als Spionage-Kamera

Aufgrund ihrer kleinen Dimensionen wurde die Tessina-Kamera auch von den Geheimdiensten geschätzt: Die Staatssicherheit, die CIA und auch der australische Geheimdienst ASIO verwendeten die Kamera. Im Stasimuseum in Berlin ist sie ausgestellt, auf den Internetseiten der CIA ist die Kamera abgebildet.[6]
Bei der Staatssicherheit
Das Ministerium für Staatssicherheit in der DDR beschäftigte sich eingehend mit der Kamera. Verschiedene Stasi-Mitarbeiter schlugen auch Modifikationen vor, die ausgeführt wurden. So wurde das Gerät unter anderem in einem Zigaretten-Etui versteckt oder in eine Nietenhose eingenäht. Es hieß, die Kamera eigne sich bestens «für Beobachtungshandlungen auf Volksfesten, Pressefesten, in Urlauberzentren, auf Campingplätzen, in Freiluftbädern, die vorwiegend von jugendlichen Personenkreisen bzw. negativ-dekadenten Jugendlichen aufgesucht werden (…)».[1] Die Tessina war jedoch nur eine von zahlreichen Kameras, welche die Stasi zur Observation einsetzte. Nach der Wende wurden Kameras der verschiedensten Hersteller aus der DDR, aus der Sowjetunion, aus Westdeutschland, den USA und Japan gefunden. Eine Halbformatkamera und eine geräuschlose Spiegelreflexkamera stellte das Ministerium für Staatssicherheit selbst her.[7][1][8]
Bei der CIA
Der ehemalige CIA-Agent Howard Hunt lieh sich bei der CIA eine Tessina-Kamera für eine heimliche Aktion gegen einen vermuteten Kritiker der Regierung von Richard Nixon. Sein Name und der Name der Kamera findet sich in den Protokollen eines Hearings aus dem US-Senat aus dem Jahr 1973. Die Kamera wurde für einen Einbruch in das Büro des Psychoanalytikers Lewis Fielding in Los Angeles benutzt. Fielding war der Therapeut des Whistleblowers Daniel Ellsberg. Dort versuchten die Einbrecher, belastendes Material gegen Ellsberg, einen Militärspezialisten der Denkfabrik Rand, zu finden. Ellsberg war der Informant für die Dokumente aus dem Pentagon, die später unter dem Namen Pentagon-Papiere veröffentlicht wurden. Howard Hunt spielte später beim Einbruch in den Watergate-Gebäudekomplex eine wichtige Rolle. Dieser Vorgang ist als Watergate-Skandal in die Geschichte eingegangen.[1]
Beim australischen Geheimdienst ASIO
Auch der australische Geheimdienst ASIO kannte die Tessina-Kamera. Er nutzte sie heimlich versteckt in einer Zigarettenpackung.[9]
Im Film
Die Tessina-Kameras spielte im Thriller Topas von Alfred Hitchcock 1969 eine Rolle: Der als Journalist getarnte Agent Frankreichs, Philippe Dubois, trifft einen kubanischen Revolutionär in einem Hotel in Harlem. Er hofft so, an die Aufmarschpläne für die sowjetischen Raketen auf Kuba heranzukommen, eine Anspielung auf die Kubakrise von 1962. Bei einer Leibesvisitation des Journalisten wird die Kamera entdeckt. Die Kubaner fragen: «Was ist das?», Dubois: «Das ist meine Kamera». Darauf antwortet der Kubaner: «Das ist eine lustige kleine Kamera», Dubois entgegnet: «Eine sehr gute.»
Tessina als Sammelobjekt

Die Tessina ist heute nicht mehr im Handel und ein Sammelobjekt. In einem Sammler-Magazin findet sich auch die ausführlichste Beschreibung der Kamera.[3] Sie ist außerdem in Museen zu finden.
Weblinks
- Tessina: In Cryptomuseum.org
- Spycameras: The Tessina 35mm Subminiature Camera. auf YouTube
Literatur
- Peter Barz, Rolf Häfliger, Jost Simon: Die Tessina-Saga. In: Photographica Cabinett Nr. 35-42, 2004/2005. Nicht online.
- Dominik Landwehr: Versteckt in Schlüsseletuis und Regenschirmen: Die Stasi-Kamera «made in Switzerland». In: NZZ am Sonntag, 1. Juni 2023. Online
- Dominik Landwehr: Grenchner Spionagekamera für die Stasi und die CIA. In: Blog des Schweizerischen Nationalmuseums. 2023/24. Online
- Dominik Landwehr: Die Tessina-Recherche. In: Sternenjaeger vom 4. Juni 2023. Online
- Harold Keith Melton, Detlev Vreisleben, Michael M. Hasco: The Secret History of Stasi Spy Cameras: 1950–1990. S.192–204. ISBN 978-0-7643-6045-9
Einzelnachweise
- ↑ a b c d e f Dominik Landwehr: Versteckt in Schlüsseletuis und Regenschirmen: Die Stasi-Kamera «made in Switzerland». In: NZZ am Sonntag 1. Juni 2023.Online
- ↑ Die Anmeldung des Patents erfolgte 1954, die Patentschrift wurde 1956 veröffentlicht. Online
- ↑ a b Die umfangreichste Darstellung der Geschichte der Tessina wurde von dem Schweizer Sammler Rolf Häfliger und anderen in den Jahren 2004 und 2005 in mehreren Teilen (Nr. 35-42) in der Zeitschrift Photographica Cabinett publiziert. Die Artikel sind jedoch nicht online.
- ↑ Die Tessina. Website Engel-Art.ch Online
- ↑ Spionakamera aus der Schweiz: Die Tessina. In: Clean-Cameras
- ↑ Artifacts: Tessina Camera Concealed in Cigarette Pack. CIA-Museum. Online
- ↑ Harold Keith Melton, Detlev Vreisleben, Michael M. Hasco: The Secret History of Stasi Spy Cameras: 1950–1990. ISBN 978-0-7643-6045-9
- ↑ Jost Simon: Die "amtliche" Geschichte der Tessina. Oder: Die Tessina und die Geheimdienste. In: Photographica Cabinett Nr. 42, 2005. S. 28-35. Nicht online.
- ↑ Mitteilung des australischen Geheimdienstes Asio vom Jahr 2022 auf x. Online Weitere Mitteilung aus dem Jahr 2020. Online