Van-Arkel-de-Boer-Verfahren

Das Van-Arkel-de-Boer-Verfahren [], auch Aufwachsverfahren genannt, ist eine von Anton Eduard van Arkel und Jan Hendrik de Boer im Jahre 1924 entwickelte Transportreaktion zur Gewinnung bzw. zur Reinigung von Metallen, wie z. B. Titan, Zirconium, Hafnium, Vanadium, Tantal, Thorium, Chrom, Rhenium, Protactinium oder deren Verbindungen (z. B. Titancarbid TiC, Titannitrid TiN, Zirconiumnitrid ZrN) sowie der Halbmetalle Bor, Silicium.[1]
Prozess

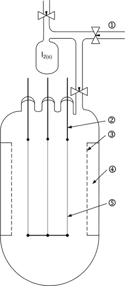
Das zu reinigende Metall wird zusammen mit Iod am Boden eines evakuierten glockenförmigem Gefäßes bei einem auf 0,1–20 Pa[2] reduzierten Druck erhitzt. Bei Titan beträgt die Reaktionstemperatur etwa 800 °C.[3]
Dabei bildet sich in der Hinreaktion das bei dieser Temperatur gasförmige Metalliodid, bei Titan etwa das gasförmige TiI4. Dieses gelangt durch Diffusion oder Konvektion an einen glühenden Wolframdraht, an dem es sich wieder zersetzt. Dabei scheidet sich in der Rückreaktion das reine Metall ab. Das freiwerdende Iod nimmt erneut Metall auf. Eventuell zuvor im Metall vorhandene Verunreinigungen verbleiben im Rückstand.
Das Verfahren nutzt die unterschiedliche Gleichgewichtslage von Hin- und Rückreaktion aus, die, bezüglich der Iodidbildung, exotherm ist, d. h., bei hoher Temperatur verschiebt sich das Gleichgewicht auf die linke Seite. Diese ist entropisch begünstigt, weshalb die Reaktion unter vermindertem Druck stattfindet:
Die Reaktion ist exotherm mit ΔH = −427 kJ/mol.[4]
Auch im Betrieb einer Halogenlampe wird das Verfahren ausgenutzt. Durch die hohe Betriebstemperatur sublimierte Wolframatome, die sich an der Glaswand der Glühbirne niedergeschlagen haben, werden vom im Schutzgas in geringen Mengen vorhandenen Iod und Chlor in WCl4 bzw. WI4 überführt. Bei der deutlich höheren Temperatur am Glühfaden selbst verlagert sich das Gleichgewicht auf die Seite der Edukte, sodass sich das Wolfram elementar am Glühfaden abscheidet und so den Sublimationsverlust verringert.
Produkte
Die Fotos zeigen hochreine Crystal Bars (Metallaufwachsstangen), die nach dem Van-Arkel-de-Boer-Verfahren hergestellt wurden.
-
Titan Crystal Bar, 99,995 %
-
Zirconium Crystal Bar, 99,97 % -
Hafnium Crystal Bar, > 99,9 % -
Vanadium Crystal Bar, 99,9 %
Siehe auch
Literatur
- Erwin Riedel: Anorganische Chemie. Walter de Gruyter, Berlin 2004, 6. Auflage
Einzelnachweise
- ↑ Eintrag zu Aufwachsverfahren. In: Römpp Online. Georg Thieme Verlag, abgerufen am 10. April 2011.
- ↑ Yoshio Waseda, Minoru Isshiki (Hrsg.): Purification Process and Characterization of Ultra High Purity Metals. Springer, Berlin / Heidelberg 2002, ISBN 978-3-642-56255-6, doi:10.1007/978-3-642-56255-6.
- ↑ A. F. Holleman, E. Wiberg, N. Wiberg: Lehrbuch der Anorganischen Chemie. 91.–100., verbesserte und stark erweiterte Auflage. Walter de Gruyter, Berlin 1985, ISBN 3-11-007511-3.
- ↑ Script der TU Darmstadt ( vom 26. Februar 2007 im Internet Archive) (PDF; 602 kB).