Wellenradwaschmaschine
Wellenradwaschmaschinen (früher auch Bottich-Waschmaschinen genannt)[1][2] sind relative kleine, sehr einfach aufgebaute Waschmaschinen mit wenigen Funktionselementen. Wegen ihrer geringen Abmessungen und moderaten Kosten fanden sie in der Nachkriegszeit als etagenfähige Modelle zunehmend Verbreitung. Die Wellenradwaschmaschine wurde ab Mitte der 1960er Jahre von den leistungsfähigeren Waschautomaten und Waschvollautomaten wieder abgelöst. In der DDR waren Wellenradwaschmaschinen noch bis Anfang der 1990er Jahre weit verbreitet. Für spezielle Einsatzgebiete (z. B. Wochenendhaus, Campingplatz) werden in Deutschland noch kleinere Stückzahlen produziert. Auch zum Beispiel das populäre Modell Romo aus Tschechien ist weiterhin erhältlich.
Das Wellenradprinzip

Im Behälterboden oder an der Behälterseitenwand ist eine mit Rippen versehene rotierende Scheibe angeordnet, das sogenannte Wellenrad. Es hat meist eine Drehzahl von 500 bis 600 Umdrehungen pro Minute und versetzt die Waschlauge strudelartig in Bewegung. Die Wäsche wird vom Strudel mitgenommen und bewegt sich dadurch in der Waschlauge. Die Reinigungswirkung entsteht durch die intensive Relativbewegung zwischen Wäsche und Waschlauge. Die Waschzeit ohne Spülen beträgt bei diesem Verfahren nur fünf bis acht Minuten. Nachteil des Wellenradsystems ist der relativ hohe Wäscheverschleiß, da die Wäsche teilweise auch vom rotierenden Wellenrad erfasst wird. Eine textilschonende Reinigung ist nicht möglich. Man kann mehrere Wäscheposten in ein und derselben Lauge waschen, da diese bei dem systembedingten ungünstigen Flottenverhältnis von 1:20 (kg Wäsche/Liter Waschlauge) nach einer Wäschefüllung noch nicht voll ausgenutzt ist. Mit dieser Maschine wurde die Hausfrau vom Waschen mit dem Waschbrett entlastet. Aber der Arbeitsaufwand betrug noch etwa 70 % gegenüber einer Handwäsche mit dem Waschbrett. Mit dem Wellenradsystem ist ein automatischer Ablauf des gesamten Waschprogramms, wie bei den heutigen Waschvollautomaten mit Trommel, nicht realisierbar.
Das Wellenradprinzip wurde nur für einfache Maschinen angewandt. Diese besaßen zunächst nur einen Schalter für Motor und Heizung. Später wurden sie auch mit einer Zeitschaltuhr zur Begrenzung der Waschzeit, einem Fernthermometer oder einem Thermostaten für die Laugentemperatur und einer Laugenpumpe zum Entleeren des Waschbehälters ausgerüstet.
Geschichte

Ein Vorläufer der Wellenradwaschmaschine war eine im Jahre 1869 entwickelte Holzbottich-Waschmaschine mit einer am Behälterboden (1) mit Rippen (2) versehenen rotierenden Scheibe (3). Die Scheibe wurde mit einer Handkurbel (4) und über ein Kurbelgelenk (5) und einen Zahnradtrieb (6) in Drehung versetzt. Die Reinigungswirkung entstand wie beim Wellenradprinzip durch die Bewegung der Wäsche und der Waschlauge im Behälter (7) verursacht durch die Rotation der mit Rippen versehenen Scheibe.
In den USA produzierte die Firma Maytag Corporation 1925 eine Wellenradwaschmaschine in Metallausführung mit elektrischem Antrieb. Das Wasser musste außerhalb der Maschine in einem Topf oder im Kessel erwärmt werden. Weitere Modelle sind aus Japan bekannt. In Deutschland wurden vor dem Zweiten Weltkrieg keine Wellenradwaschmaschinen hergestellt.
In der Nachkriegszeit entstand beim Wäschewaschen in den Haushalten oft folgende Situation:
- Viele Menschen konnten wieder eine eigene Wohnung beziehen, wobei Räume für eine Waschküche meist fehlten.
- Die in dieser Zeit produzierten Vorkriegsmodelle waren groß und schwer. Der Waschablauf war mit enormer Dampf- und Nässeentwicklung verbunden.
- Mangels Alternativen musste die Wäsche oft mit dem Waschbrett gewaschen werden.
Die nach dem Krieg wieder entstehende Industrie suchte nach neuen Lösungen für das Wäschewaschen:
- Es wurden etagenfähige Waschmaschinen entwickelt und produziert, die das Waschen der Wäsche in Küche oder Bad ermöglichten.
- Damit kam man zunehmend von der „großen Wäsche“ ab, die alle 4 bis 6 Wochen an einem ganzen Tag in der Waschküche stattfand. Mit den kleineren Waschmaschinen wurde in kürzeren Zeitabständen mit verringerten Wäschemengen gewaschen (wöchentlich oder bei größeren Familien sogar öfter).
- Die neuen Maschinen mussten relativ billig sein, damit sich viele Familien auch eine solche Maschine leisten konnten.
Waschmaschinen mit dem Wellenradsystem erfüllten mit ihrem einfachen Aufbau und kompakten Abmessungen diese Anforderungen.
Hersteller in Westdeutschland
In der Bundesrepublik wurden Wellenradwaschmaschinen von folgenden Firmen hergestellt:
- AEG, Nürnberg
- Alaska-Werk Berning & Co., Schwelm
- Brocke, Schwelm
- Cordes, Lette
- Fripa-Maschinenbau, Wülfrath
- Hoover GmbH, Hamburg-Altona
- Idealwaschmaschinen H.P Döring
- Kobbelöer, Essen
- A. Kraus & Co. Nürnberg
- Maschinenfabrik Alfred Klein, Unterwilden, Krs. Siegen
- Wamsler, München
- Winkelsträter GmbH, Schwelm
- Wohlhöfer, Bamberg
Die Produktionszahlen der Wellenradwaschmaschinen gingen bereits in den 1960er Jahren in den westeuropäischen Ländern wieder stark zurück, da immer höherwertige Geräte gefragt waren. Ab etwa 1965 wurden Wellenradwaschmaschinen in der Bundesrepublik Deutschland nicht mehr produziert. In der DDR waren Wellenradwaschmaschinen bis zum Ende 1990 allerdings noch der am meisten verbreitete Waschmaschinentyp.
Hersteller in Ostdeutschland

In der DDR wurde 1952 im VEB Waschgerätewerk Schwarzenberg mit der Entwicklung von Wellenradwaschmaschinen begonnen. Aus dem ersten Modell entstanden zahlreiche Weiterentwicklungen. Die wichtigste Baureihe (WM) wurde in großen Stückzahlen über 45 Jahre produziert. Endgültig eingestellt wurde sie erst im Jahr 2005 in einem Nachfolgebetrieb des VEB Waschgerätewerk Schwarzenberg (TARAK Gerätebau GmbH).
Die Modelle Combi, Reni und Bella
Bereits das erste Modell, die Combi, bot nach dem Waschvorgang eine Möglichkeit zum Entwässern der Wäsche durch eine im Waschbehälter (1) einsetzbare Wäscheschleuder (2).[3] Diese Waschmaschine galt zur damaligen Zeit in der DDR als großer Fortschritt, denn sie war etagengerecht ausgeführt und konnte an das im Haushalt übliche Stromnetz angeschlossen werden. Der Antrieb der Wäscheschleuder erfolgte durch den von einem aufsteckbaren Windflügel (3) erzeugten Luftstrom. Das Wellenrad (4) wurde abgezogen und der Windflügel auf die innere Welle (5) aufgesteckt. Der Motor (6) treibt über eine Doppelkeilriemenscheibe (7) die innere Welle für den Windflügel mit 2000/min, und die äußere Welle (8) für das Wellenrad mit 550/min an. Der Boden der Schleudertrommel (9) ist als halbgeschlossenes Windrad (10) gestaltet. Der durch den Windflügel erzeugte Luftstrom treibt das an der Schleudertrommel befestigte Windrad und somit die Schleudertrommel an. Die Schleudertrommel ist zum Wäscheunwuchtausgleich schwenkbar auf einer Kugel (11) gelagert. Die Abbremsung der Schleudertrommel erfolgt von Hand mittels Konusbremse (12). Die Combi ist eine Gestellkonstruktion, d. h. der Waschbehälter mit dem Antrieb wird von einem Gestell (13) getragen und die emaillierten Verkleidungswände (14) sind am Gestell angeschraubt.
Die Combi wurde ab 1955 produziert. Sie war mit Patent Nr. 10871 (Klasse 8d, Gruppe 6/30) in der DDR geschützt.
Technische Daten der Combi

| Fassungsvermögen | 1,5 kg trockene Wäsche |
| Wassermenge im Waschbehälter | 30 Liter |
| Antrieb | Einphasen-Wechselstrommotor (250 W) mit Anlaufwicklung, Doppelkeilriemen zum Wellenrad und zum Windflügel |
| Schaltung | Paketschalter für Motor, Paketschalter für Heizung, Kontrollleuchten |
| Drehzahl Wellenrad | 550/min |
| Drehzahl Windflügel | 2000/min |
| Drehzahl Schleudertrommel | 1200 bis 1400/min |
| Heizung | 2000 W Rundrohrheizkörper |
| Kontrolle der Laugentemperatur | Handthermometer |
| Gehäuse und Deckel | emailliert |
| Waschbehälter | feuerverzinkt |
| Wellenrad | feuerverzinkt |
| Schleudereinsatz | feuerverzinkt |
| Abmessungen | (H × B × T in cm): 83 × 43 × 43 |
| Gewicht | 60 kg |
In den Jahren 1956 bis 1958 entstanden als Weiterentwicklung der Combi die Typen Combi II, Bella und Reni. Von diesen Geräten wurden in den Jahren von 1955 bis 1960 108.200 Stück produziert, bevor sie im Jahr 1960 von einer neuen Wellenradwaschmaschinenbaureihe abgelöst wurden.
-
Combi II -
Bella -
Reni; im Hintergrund eine hydraulische Wäschepresse
Die WM-Baureihe
WM 60, WM 63, WM 64

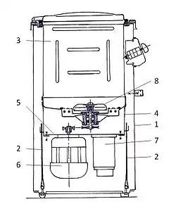
Der Umrüstungsaufwand vom Waschen zum Schleudern oder umgekehrt war bei Combi und Bella relativ hoch. Eine parallele Arbeitsweise von Waschen und Schleudern war nicht möglich. Die Nachteile der Combi-Konstruktion führten dazu, dass eine neue Wellenradwaschmaschine mit der Typenbezeichnung WM 60 mit einem selbsttragenden Vollmantelgehäuse und einer neuen Schleuder mit der Typenbezeichnung TS 60 entwickelt wurde. Die Schleuder hatte einen eigenen Motor. Sie wurde als Kleinschleuder ausgeführt, so dass sie weiterhin im Waschbehälter der WM 60 platzsparend aufbewahrt werden konnte. Das Vollmantelgehäuse (1) ist Verkleidung und tragendes Element der Waschmaschine. Die Hauptbauteile werden durch Spannbänder (2) zusammengezogen, so dass eine stabile Einheit entsteht. Zwei am Behälter (3) angeschweißte Laschen (4) tragen die Motorspannplatte (5) mit Motor (6) und Betriebskondensator (7) für den Motor. Der Behälter und das Wellenrad (8) waren feuerverzinkt, das Gehäuse lackiert.
Ausstattung:
- 8-Minuten-Zeitschaltuhr zur Begrenzung der Waschzeit
- Fernthermometer zur Kontrolle der aktuellen Waschlaugentemperatur
- Schalter mit den Stellungen „Waschen“, „Waschen und Heizen“, „Heizen“ und „Aus“
Die WM 60 wurde weiterentwickelt. Es entstanden von 1960 bis 1965 die Typen WM 63 und WM 64, von denen zusammen mit der WM 60 in den Jahren von 1960 bis 1965 etwa 739.000 Stück produziert wurden.
Technische Daten der WM 60, WM 63, WM 64

| Fassungsvermögen | 1,5 kg trockene Wäsche |
| Wassermenge im Waschbehälter | 30 Liter |
| Antrieb | Einphasen-Wechselstrommotor, 220 V, 150 W, 1420/min, Betriebskondensator 6 µF mit Keilriemen von Motor zur Keilriemenscheibe des Wellenrades |
| Drehzahl Wellenrad | 530/min |
| Heizung | 2000 W Elektroheizung |
| Förderleistung der Pumpe | 24 l/min, Förderhöhe: 2,5 m, Spaltpolmotor (nur bei WM 64) |
| Abmessungen | (H × B × T in cm): 85 × 45 × 45 |
| Gewicht | ca. 37 kg |
WM 66

Der prinzipielle Aufbau der WM 66 entspricht dem des Vorgängertyps WM 60 mit einigen Neuerungen:
- Untertischmodell mit den Abmessungen (H × B × T) 66 × 44 × 49 cm
- Formschöne Gestaltung
- Reduzierung des Stahlblecheinsatzes durch den verkürzten Gehäusemantel
- Polypropylen für den oberen Rahmen und Aluminium für den Behälterdeckel
- Einsatz von weiterentwickelten Zulieferbaugruppen, wie Motor und Laugenpumpe
- Fertigungszeiteinsparungen
Bedienelemente:
- Thermometer zur Kontrolle der Laugentemperatur
- Zeitschaltuhr zur Begrenzung der Waschzeit
- Schalter zum Einstellen der Arbeitsgänge „Waschen“, „Waschen und Heizen“, „Heizen“, „Entleeren“ und „Aus“
WM 600

Auf der Basis WM 66 entstand die Weiterentwicklung WM 600.
Neuerungen sind:
- Prägungen im Gehäusemantel. Dadurch konnte die Materialdicke des Gehäusemantels reduziert werden.
- Der untere Rahmen ist entfallen.
- Neben der Ausstattung mit Thermometer wurde eine Gerätevariante mit Thermostat produziert. Mit dem Thermostat kann man die Waschtemperatur vorwählen.
Von der WM 66 und WM 600 wurden von 1966 bis 1990 4.623.200 Stück produziert. Der Preis einer Wellenradwaschmaschine WM600 mit Laugenpumpe lag zuletzt bei 647 Mark der DDR.
Einzelnachweise
- ↑ Fortschritte an elektrischen Bottich-Waschmaschinen. In: Helios. Fach-Zeitschrift für Elektrotechnik / Helios. Export-Zeitschrift für Elektrotechnik, 3. Februar 1935, S. 15 (online bei ANNO).
- ↑ Elli Heese: Die große Wäsche. In: Das Blatt der Hausfrau. Oesterr(eichisch)-ungar(ische) Zeitschrift für (die) Angelegenheiten des Haushaltes / Das Blatt der Hausfrau(. Oesterr(eichisch) Ungar(ische) Zeitschrift) / Ullsteins Blatt der Hausfrau / Ullsteins Blatt der Hausfrau Wien / Das Blatt der Hausfrau / Das Blatt der Kinder. Sonderbeilage zum „Blatt der Hausfrau“, Heft 1/1939, S. 14 (online bei ANNO).
- ↑ Sofern nicht anders angegeben, stammen Angaben zu konkreten Modellen aus Prospekten der betreffenden Hersteller.